EasyManua.ls Logo

Clinton CE-DVR163 - 4 Channel DVR Front View; Channel and Display Mode Buttons; Playback, Search, and Control Buttons; Recording Button

Clinton CE-DVR163
47 pages
Print Icon
To Next Page IconTo Next Page
To Next Page IconTo Next Page
To Previous Page IconTo Previous Page
To Previous Page IconTo Previous Page
Loading...
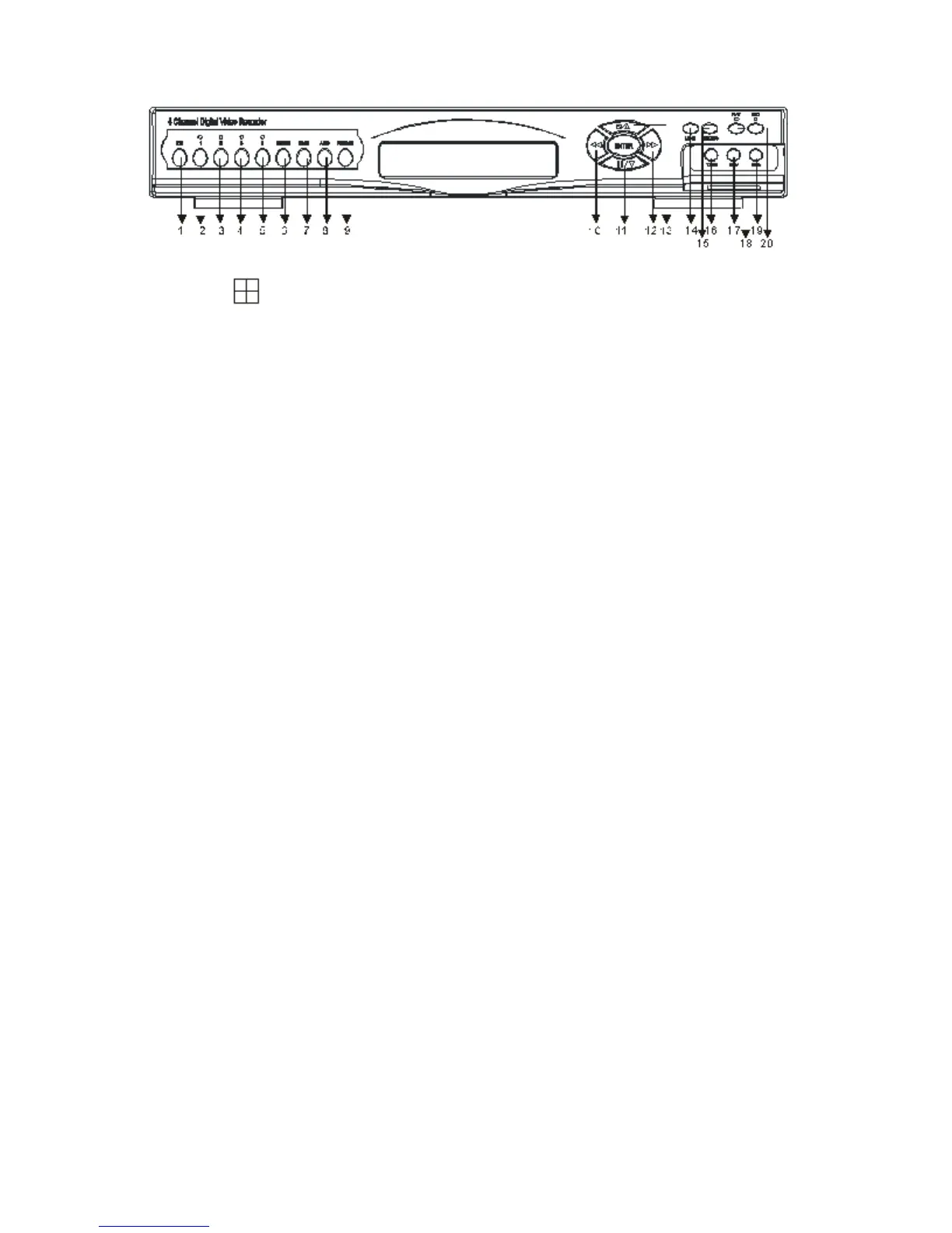
4 Channel DVR Front View
1.
: 4 quad split screen mode button
2. CHANNEL 1: Channel 1 full screen button
3. CHANNEL 2: Channel 2 full screen button
4. CHANNEL 3: Channel 3 full screen button
5. CHANNEL 4: Channel 4 full screen button
6. FREEZE: Picture freeze mode button
7. ZOOM: Picture zoom in mode button
8. AUTO: Auto sequence mode
9. PIP: Picture in picture mode button
10. REW: Reverse playback choose button
11. STEP/DOWN: Playback pause/Direction button down
12. FF: Forward playback choose button
13. STOP/UP: Press this button to stop playback/Direction button up
14. MENU BUTTON: Press this button to display the menu setup
15. LOCK/ESC: Press this button to Lock function
16. T-SRH: Press this button to playback time search
17. DIRECTION/VALUE CHANGE BUTTON: Playback speed choose
(increase)
18. PLAY BUTTON: Press this button to playback
19. DIRECTION/VALUE CHANGE BUTTON: Playback speed choose
(reduce)
20. REC BUTTON: Press this button to start recording image
7