EasyManua.ls Logo

Colged Neo Tech 400 - Cap 4 Uso de la Maquina; Leyenda y Símbolos; Encendido

Colged Neo Tech 400
112 pages
Print Icon
To Next Page IconTo Next Page
To Next Page IconTo Next Page
To Previous Page IconTo Previous Page
To Previous Page IconTo Previous Page
Loading...
MANUAL DE INSTRUCCIONES PARA LAVAVAJILLAS
Página 5 de 10
E
Cap 4 USO DE LA MAQUINA
Para simplificar la descripción de las distintas funciones, a continuación se indica la disposición del
panel de control con la denominación y número correspondiente de cada botón y testigo. Las
figuras mencionadas se encuentran al principio del manual. En la descripción del funcionamiento
de la máquina se hará referencia siempre a dichos números y denominaciones.
4.1 Leyenda y símbolos
En referencia a la
Fig.1
:
1
BOTÓN ON/OFF
6
TESTIGO CICLO BREVE
2
BOTÓN SELECCIÓN DE PROGRAMAS
7
TESTIGO INDICACIÓN DE TEMPERATURA
3
BOTÓN START
8
TESTIGO REGENERACIÓN (**)
4
TESTIGO DE ENCENDIDO
9
TESTIGO CICLO LARGO
5
TESTIGO CICLO DE DESAGÜE (*)
10
PANTALLA DE INFORMACIÓN
(*) Solo en las versiones con bomba de desagüe. (**) Solo en las versiones con ablandador.
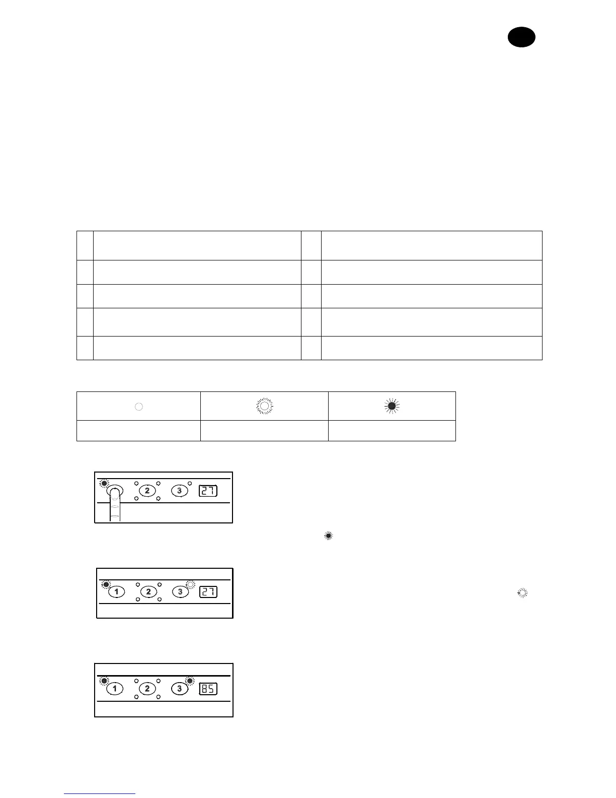
Testigo apagado Testigo intermitente Testigo encendido
°C
4.2 Encendido
Accione el interruptor general de la electricidad y abra la
llave del agua externa.
Compruebe la presencia del rebosadero.
Pulse el botón ON/OFF (1) como se indica
esquemáticamente al lado (el testigo ENCENDIDO (4)
se ilumina
).
°C
La máquina inicia automáticamente el llenado y el testigo
de INDICACIÓN DE TEMPERATURA (7) parpadea
,
hasta que se alcanza el nivel de funcionamiento.
°C
En la PANTALLA (10) se muestra la temperatura del
calentador.
Cuando el testigo de INDICACIÓN DE TEMPERATURA
(7) se enciende, significa que se han alcanzado las
condiciones óptimas de lavado.

Table of Contents

Related product manuals