EasyManua.ls Logo

Colged Neo Tech 400 - Kap 4; Anvendelse Af Maskinen; Oversigt Og Symboler; Sådan Tændes Maskinen

Colged Neo Tech 400
112 pages
Print Icon
To Next Page IconTo Next Page
To Next Page IconTo Next Page
To Previous Page IconTo Previous Page
To Previous Page IconTo Previous Page
Loading...
BRUGERVEJLEDNING TIL OPVASKEMASKINE
Side 5 af 10
DK
Kap 4 ANVENDELSE AF MASKINEN
For en simpel beskrivelse af de forskellige funktioner findes herunder en oversigt over
betjeningspanelet og benævnelsen af de forskellige taster eller kontrollamper med talhenvisning til
figurerne i starten af vejledningen. I beskrivelsen af maskinens funktion henvises altid til tal og
benævnelse.
4.1 Oversigt og symboler
For nedenstående oversigt henvises til
Fig.1
:
1
KNAPPEN ON/OFF
6
KONTROLLAMPE FOR KORT CYKLUS
2
KNAPPEN PROGRAMVALG
7
KONTROLLAMPE FOR
TEMPERATURINDIKATION
3
KNAPPEN START
8
KONTROLLAMPE FOR REGENERATION (**)
4
KONTROLLAMPE FOR TÆNDT MASKINE
9
KONTROLLAMPE FOR LANG CYKLUS
5
KONTROLLAMPE FOR
TØMNINGSCYKLUS (*)
10
DISPLAY MED INFORMATIONER
(*) Kun på udgaver med udledningspumpe. (**) Kun på udgaver med afhærdningsanlæg.
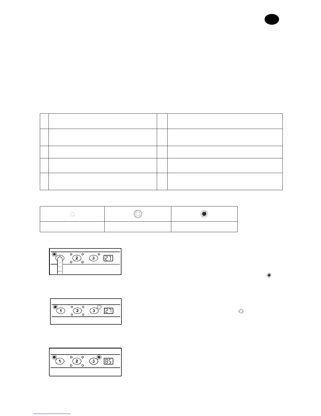
Kontrollampe slukket Kontrollampe blinker Kontrollampe tændt
°C
4.2 Sådan tændes maskinen
Tænd på hovedafbryderen og åben den udvendige hane
for vandtilførsel.
Kontroller om overløbsindretningen er på plads.
Tryk på tasten ON/OFF (1) som vist i skemaet ved siden
af (kontrollampen for TÆNDT MASKINE (4) tænder
).
°C
Maskinen starter automatisk fyldningen, kontrollampen for
TEMPERATURINDIKATION (7) blinker
, indtil
driftsniveauet er nået.
°C
DISPLAYET (10) vises boilerens temperatur.
Når lampen for TEMPERATURINDIKATION (7) tænder,
er de normale betingelser for opvask nået.

Table of Contents

Related product manuals