EasyManua.ls Logo

Colged Neo Tech 400 - Kap 4; Att Använda Maskinen; Teckenförklaring Och Symboler; Påslagning

Colged Neo Tech 400
112 pages
Print Icon
To Next Page IconTo Next Page
To Next Page IconTo Next Page
To Previous Page IconTo Previous Page
To Previous Page IconTo Previous Page
Loading...
INSTRUKTIONSMANUAL FÖR DISKMASKINER
Sida 5 av 10
SV
Kap 4 ATT ANVÄNDA MASKINEN
För att förenkla beskrivningen av de olika funktionerna nedan visas kontrollpanelen med alla
knappars och lampors beteckningar och nummer. Figurerna återfinns i början av manualen. I
beskrivningen av hur maskinen fungerar används alltid dessa nummer och beteckningar.
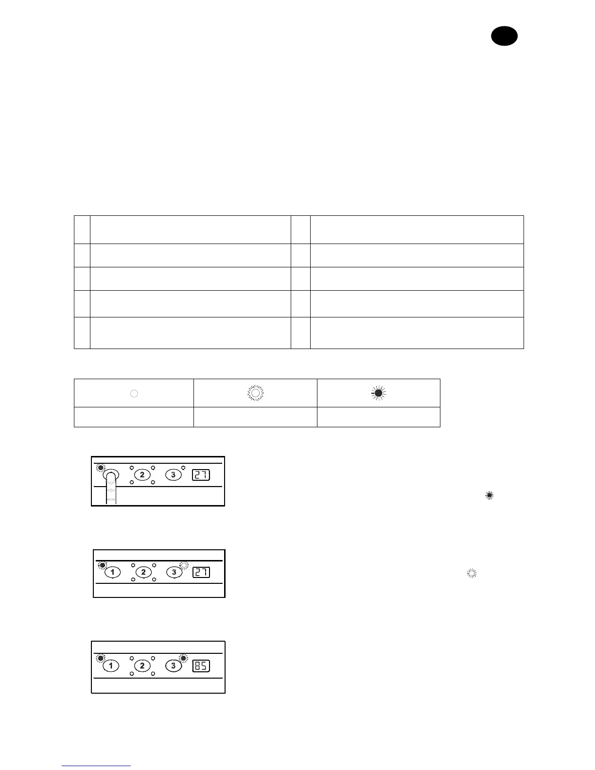
4.1 Teckenförklaring och symboler
I
Fig. 1
ser du:
1
AV/PÅ
-KNAPP
6
KONTROLLAMPA FÖR KORT DISKCYKEL
2
KNAPP FÖR VAL AV PROGRAM
7
KONTROLLAMPA FÖR TEMPERATUR
3
STARTKNAPP
8
KONTROLLAMPA FÖR REGENERERING (**)
4
KONTROLLAMPA FÖR NÄTSPÄNNING
9
KONTROLLAMPA FÖR LÅNG DISKCYKEL
5
KONTROLLAMPA FÖR
TÖMNINGSCYKEL (*)
10 DISPLAY
(*) Endast på maskiner med tömningspump. (**) Endast på maskiner med avhärdare.
Släckt lampa Blinkande lampa Tänd lampa
°C
4.2 Påslagning
Slå på huvudströmbrytaren och öppna vattenkranen.
Kontrollera om överströmningsslangen finns.
Tryck AV/PÅ
-knappen (1) som på bilden här
intill(kontrollampan för NÄTSPÄNNING (4)
tänds
).
°C
Maskinen börjar automatiskt att fylla på vatten och
kontrollampan för TEMPERATUR (7) blinkar
till dess
att arbetstemperaturen har uppnåtts.
°C
DISPLAYEN (10) visas vattentemperaturen.
När kontrollampan för TEMPERATUR (7) tänds är
förutsättningarna optimala.

Table of Contents

Related product manuals