EasyManua.ls Logo

Colged Neo Tech 400 - Luku 4 Koneen Käyttö; Selitykset Ja Symbolit; Käynnistys

Colged Neo Tech 400
112 pages
Print Icon
To Next Page IconTo Next Page
To Next Page IconTo Next Page
To Previous Page IconTo Previous Page
To Previous Page IconTo Previous Page
Loading...
ASTIANPESUKONEIDEN KÄYTTÖOPAS
Sivu 5 / 10
FI
Luku 4 KONEEN KÄYTTÖ
Eri toimintojen kuvauksen yksinkertaistamiseksi esittelemme seuraavassa ohjaustaulun sekä
jokaisen näppäimen tai merkkivalon kuvauksen sekä numeroinnin. Kuvat, joihin numeroilla
viitataan, löytyvät käyttöoppaan alusta. Koneen toimintojen kuvauksessa viittaamme aina kyseisiin
numeroihin ja nimiin.
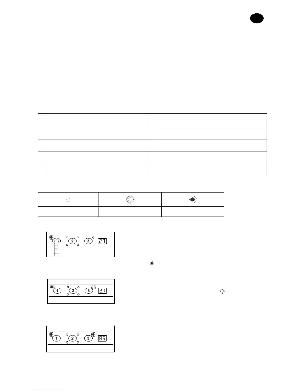
4.1 Selitykset ja symbolit
Katso
Kuvaa1
jossa näkyvät:
1
PAINIKE ON/OFF
6
MERKKIVALO LYHYT JAKSO
2
PAINIKE OHJELMIEN VALINTA
7
MERKKIVALO LÄMPÖTILAN OSOITUS
3
PAINIKE START
8
MERKKIVALO REGENERAATIO (**)
4
MERKKIVALO
KÄYNNISTYS
9
MERKKIVALO PITKÄ JAKSO
5
MERKKIVALO TYHJENNYSJAKSO (*)
10
NÄYTTÖ TIETOJA
(*) Vain malleille, jotka on varustettu poistopumpulla. (**) Vain malleille, joissa vedenpehmennin.
Merkkivalo sammuksissa Merkkivalo vilkkuu Merkkivalo palaa
°C
4.2 Käynnistys
Kytke sähkön pääkytkin päälle, aukaise ulkopuolinen
vesihana.
Tarkista, että koneessa on ylivuotosuoja.
Paina näppäintä ON/OFF (1) vieressä olevan piirroksen
osoittamalla tavalla (merkkivalo KÄYNNISTYS (4)
syttyy
).
°C
Laite alkaa täyttymään automaattisesti ja merkkivalo
LÄMPÖTILAN OSOITUS (7) vilkkuu
, kunnes
toimintataso saavutetaan.
°C
NÄYTÖLLÄ (10) näkyy lämmittimen lämpötila.
Kun merkkivalo LÄMPÖTILAN OSOITUS (7) syttyy,
olosuhteet ovat parhaat mahdolliset pesun
suorittamiselle.

Table of Contents

Related product manuals