EasyManua.ls Logo

Colged Neo Tech 400 - Hfdst 4 Gebruik Van de Machine; Legenda en Symbolen; Aanzetten

Colged Neo Tech 400
112 pages
Print Icon
To Next Page IconTo Next Page
To Next Page IconTo Next Page
To Previous Page IconTo Previous Page
To Previous Page IconTo Previous Page
Loading...
HANDLEIDING VOOR AFWASMACHINES
Pag. 5 van 10
NL
Hfdst 4 GEBRUIK VAN DE MACHINE
Om de beschrijving van de verschillende functies te vereenvoudigen, wordt vervolgens de indeling van
het bedieningspaneel getoond met de naam van iedere toets of controlelampje en het bijbehorende
nummer. De afbeeldingen waarnaar wordt verwezen, staan aan het begin van de handleiding. Bij de
beschrijving van de werking van de machine wordt altijd naar deze nummers en namen verwezen.
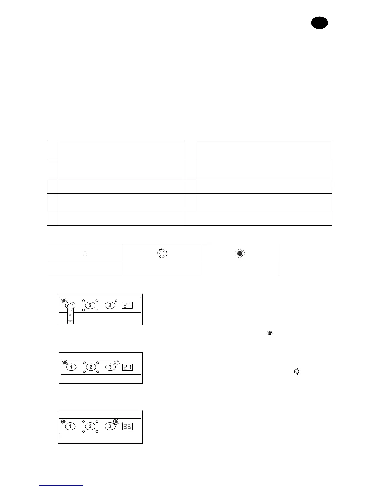
4.1 Legenda en symbolen
Met verwijzing naar
Fig.1
:
1 ON/OFF KNOP 6
CONTROLELAMPJE KORTE CYCLUS
2 PROGRAMMAKEUZEKNOP 7
CONTROLELAMPJE
TEMPERATUURAANDUIDING
3 STARTKNOP 8
CONTROLELAMPJE REGENERATIE (**)
4
CONTROLELAMPJE INSCHAKELING
9
CONTROLELAMPJE LANGE CYCLUS
5
CONTROLELAMPJE AFVOERCYCLUS (*)
10 INFORMATIEDISPLAY
(*) Alleen bij de uitvoeringen voorzien van afvoerpomp. (**) Alleen bij de uitvoeringen met waterontharder.
Controlelampje uit Knipperend controlelampje Controlelampje brandt
°C
4.2 Aanzetten
Schakel de hoofdschakelaar in, open de kraan buiten de
machine.
Controleer dat er een overstroombeveiliging is.
Druk op de ON/OFF (1) toets, zoals hiernaast
schematisch is weergegeven (het controlelampje
INSCHAKELING (4) gaat branden
).
°C
De machine begint zich automatisch met water te vullen,
het controlelampje voor de
TEMPERATUURAANDUIDING (7) knippert
tot het
werkpeil wordt bereikt.
°C
Op het DISPLAY (10) wordt de temperatuur van de
boiler getoond.
Als het controlelampje voor de
TEMPERATUURAANDUIDING (7) gaat branden, zijn de
optimale afwasvoorwaarden bereikt.

Table of Contents

Related product manuals