EasyManua.ls Logo

Convergent Design Flash XDR - Page 30

Convergent Design Flash XDR
34 pages
Print Icon
To Next Page IconTo Next Page
To Next Page IconTo Next Page
To Previous Page IconTo Previous Page
To Previous Page IconTo Previous Page
Loading...
Flash XDR User’s Manual
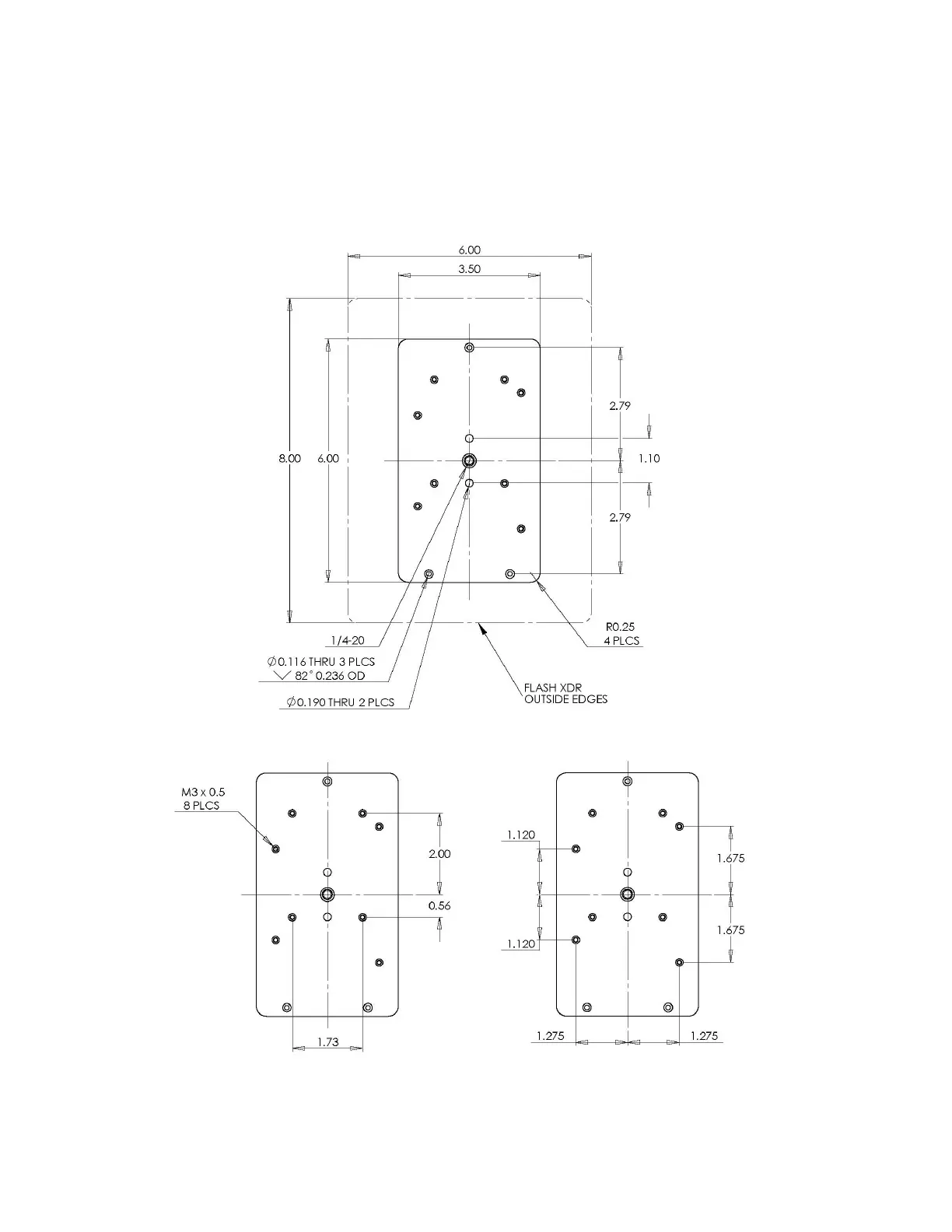
Mounting Plate Dimensions
(all dimensions shown in inches)
Convergent Design, Inc 30