EasyManua.ls Logo

Cool-Icam CIC-175 - 10 Battery Guidance; 11 Technical SpeciCations

Cool-Icam CIC-175
20 pages
Print Icon
To Next Page IconTo Next Page
To Next Page IconTo Next Page
To Previous Page IconTo Previous Page
To Previous Page IconTo Previous Page
Loading...
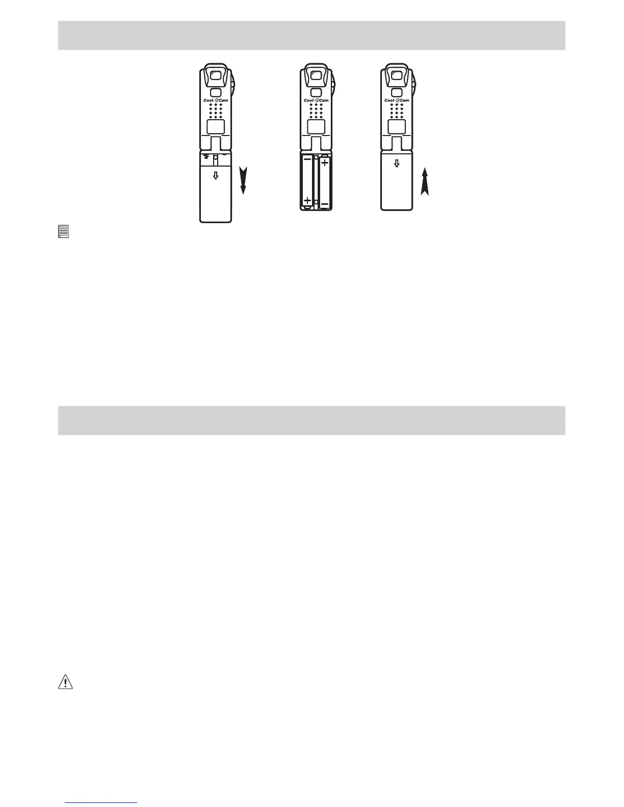
10. Battery Guidance
Important Note:
We strongly recommend that you do not use rechargeable batteries as this will affect the performance of your Pocket C@m.
WARNINGS!
Batteries should be replaced by an adult.
Non-rechargeable batteries are not to be recharged.
Rechargeable batteries are to be removed from the camera before being charged (if •removable).
Rechargeable batteries are only to be charged under adult supervision (if removable).
Different types of batteries or new and used batteries are not to be mixed.
Only batteries of the same or equivalent type as recommended are to be used.
Batteries are to be inserted with the correct polarity.
Exhausted batteries are to be removed from the camera.
The supply terminals are not to be short-circuited.
Do not mix alkaline, standard (carbon-zinc), or rechargeable (nickel-cadmium) batteries.
Do not dispose the batteries in re.
Batteries are to be removed from the camera when not in use.
Do not use rechargeable batteries.
These instructions should be retained for future reference.
11. Technical Specications
Memory 2MB SDRAM
Storable Frames High Resolution: 20 images / Low Resolution: 80 images
Image Sensor Progressive 1/3” CMOS with 640x480pixels, Color Filter Array: RGB Bayer matrix
Recording Image 352 x 288 pixels (High Resolution), 176 x 144 pixels (Low Resolution)
Exposure Automatic
Optical Viewnder Built-in
Lens Focal length 5mm (equivalent to 52mm on 135 camera)
Working Range Normal: 0.5m - innity
File Format Typical image les supported by bundled software program
Data Transfer True RGB data
Self-timer Electronic self-timer with 9 second delay
B/W LCD Indicator 2x7 segment LCD for mode & low battery warning
Control Panel Mode and Shutter
Video Frame Rate 8 fps (frame per second) in CIF mode, 25 fps in QVGA mode
Connectors USB
Power Control Standby Mode (after 60 seconds inactivity)
Power 2 x AAA Alkaline Batteries
Dimensions 146mm(H) x 17mm(D) x 33mm(W)
Weight 45g (not including batteries)
This Pocket C@m should only be operated within the following environmental conditions:
41-104º Fahrenheit; 5-40º Celsius
20% - 85% relative humidity, non-condensing
Camera Cautions
Never immerse any part of the Pocket C@m or its components into any uid or liquid.
Disconnect the Pocket C@m from your PC or Mac before cleaning it.
Remove dust or stains with a soft cloth dampened with water or neutral detergent.
Do not place hot items on the surface of the Pocket C@m.
Do not attempt to open or disassemble the Pocket C@m. This will affect any warranty claim.
19