EasyManua.ls Logo

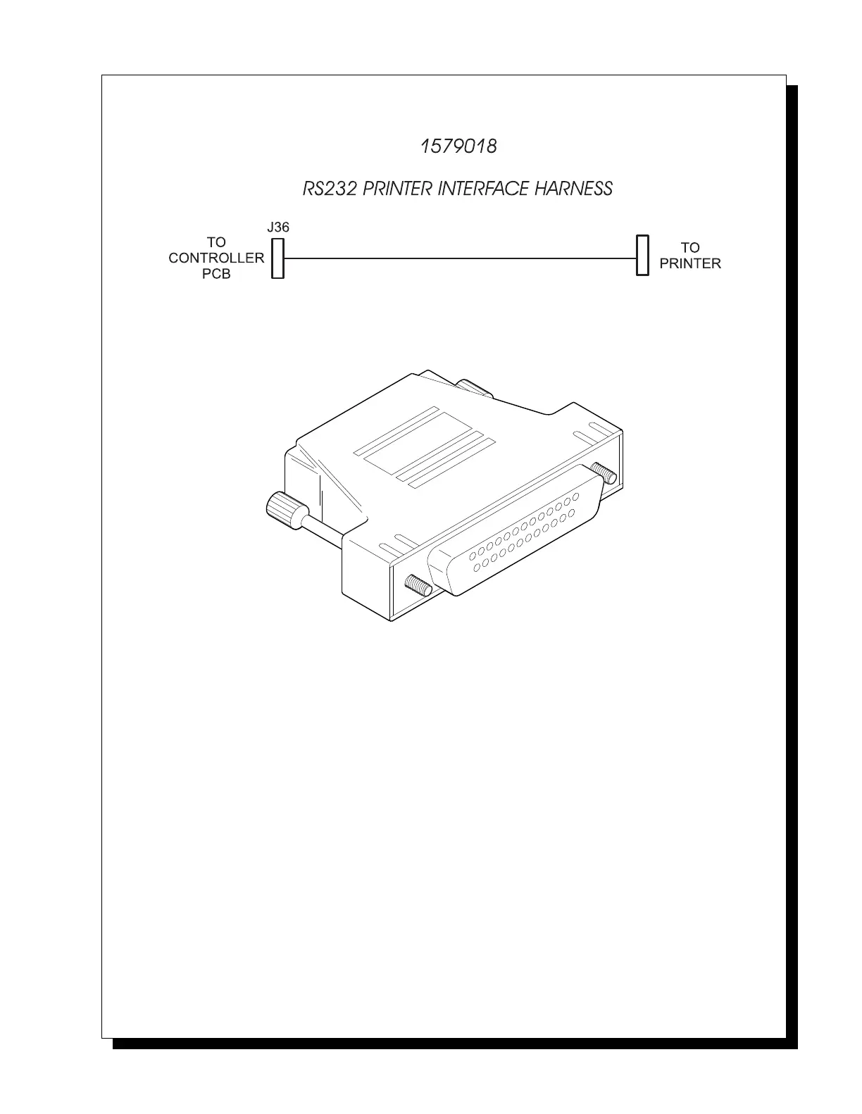
Crane 721 - 1579018; 9984516; Figure 46. Accessories Feature - Data Printer Interface

Crane 721
91 pages
Print Icon
To Next Page IconTo Next Page
To Next Page IconTo Next Page
To Previous Page IconTo Previous Page
To Previous Page IconTo Previous Page
Loading...
Model 721 Parts Manual
7210013 81
March, 2000
1579018
9984516
Figure 46. Accessories Feature - Data Printer Interface
FEMALE MODULAR ADAPTER

Table of Contents

Related product manuals