EasyManua.ls Logo

Culligan MARK 89 - Conditioner Tank Parts List

Culligan MARK 89
27 pages
Print Icon
To Next Page IconTo Next Page
To Next Page IconTo Next Page
To Previous Page IconTo Previous Page
To Previous Page IconTo Previous Page
Loading...
22 CULLIGAN
®
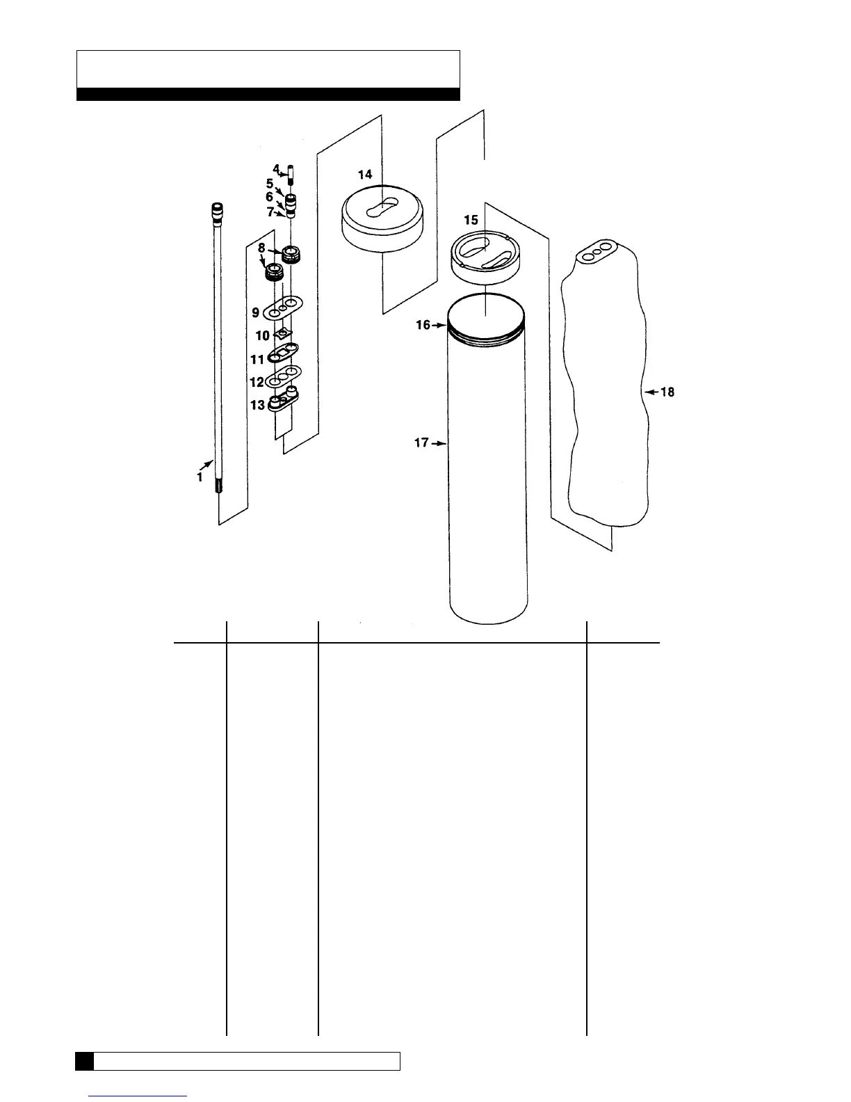
MARK 89 AND 812 WATER CONDITIONER
Item Part Number Description Quantity
01-0037-55 Tank Assembly, 9" Time Clock, Complete
01-0037-58 Tank Assembly, 12" Time Clock, Complete
01-0042-98 Replacement Tank, 9" Time Clock, Empty
01-0042-99 Replacement Tank, 12" Time Clock, Empty
1 01-0072-81 Outlet Manifold 1
4 P0-2320-07 Inlet Manifold / MP 25 1
5 P0-3339-57 O-Ring / MP 25 1
6 P0-3044-11 O-Ring / MP 25 2
7 01-0072-82 Inlet Adaptor 1
8 01-0072-83 Nut, Plastic 2
9 01-0072-88 Cover Plate 1
10 01-0021-19 Plate 1
11 01-0054-50 Gasket 1
12 00-3232-05 Barrier 1
13 01-0072-85 Yoke 1
14 01-0019-46 Cover, 9" 1
01-0019-47 Cover, 12" 1
15 00-4445-85 Crush Pad, 9" 1
00-4445-46 Crush Pad, 12" 1
16 00-4419-97 Gasket, Ring, 9" 1
00-4446-45 Gasket, Ring, 12" 1
17 00-4445-83 Well, 9" 1
00-4446-44 Well, 12" 1
18 00-2202-36 Liner, 9" 1
00-2202-22 Liner, 12" 1
Conditioner Tank & Parts List

Other manuals for Culligan MARK 89

Related product manuals