EasyManua.ls Logo

Current Solutions InTENSity Select Combo - The Waveforms of the Stimulation Programs

Current Solutions InTENSity Select Combo
44 pages
Print Icon
To Next Page IconTo Next Page
To Next Page IconTo Next Page
To Previous Page IconTo Previous Page
To Previous Page IconTo Previous Page
Loading...
TENSPros
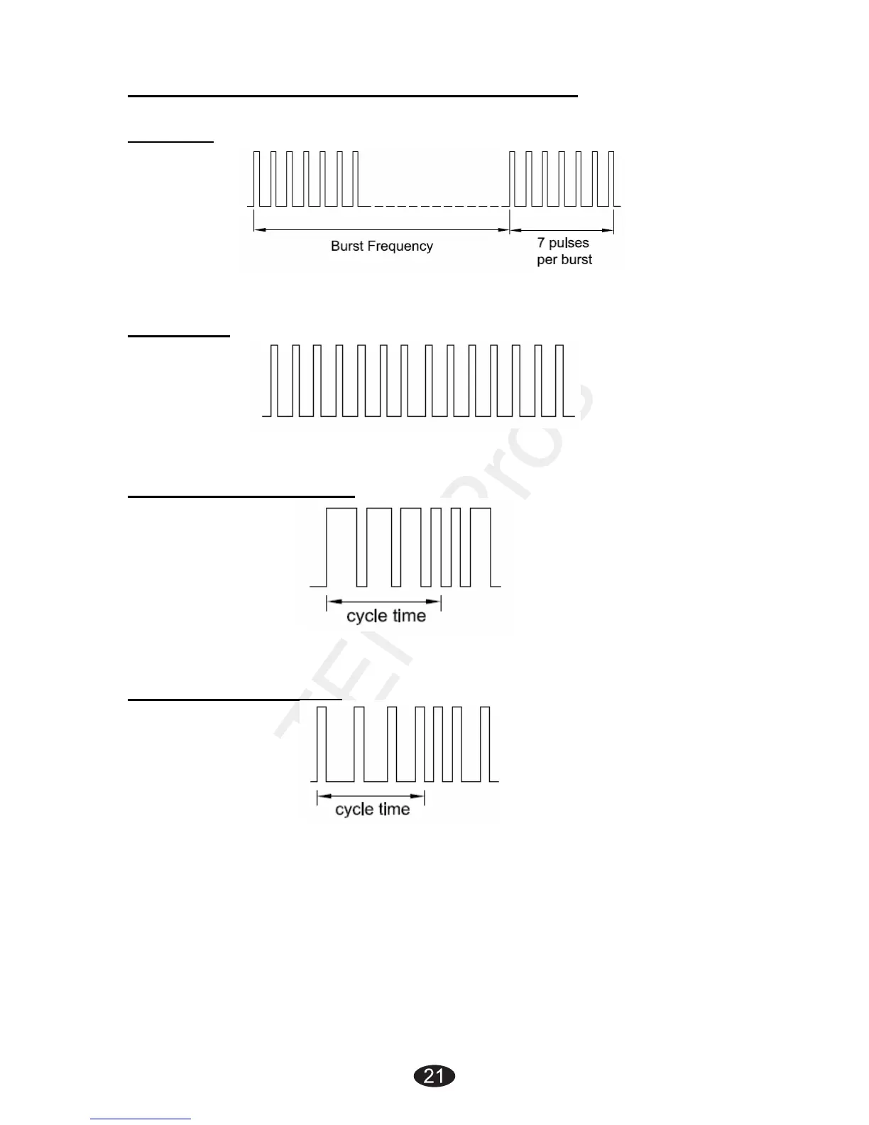
3.3 The waveforms of the stimulation programs
Burst (B)
Normal (N)
Pulse Width Modulation
Pulse Rate Modulation

Related product manuals