EasyManua.ls Logo

DAB 2 JET SET - Page 30

DAB 2 JET SET
Print Icon
To Next Page IconTo Next Page
To Next Page IconTo Next Page
To Previous Page IconTo Previous Page
To Previous Page IconTo Previous Page
Loading...
DEUTSCH
28
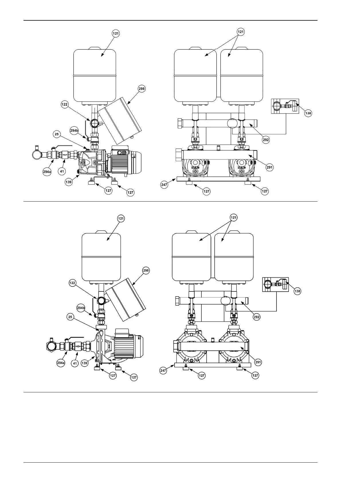
25 - Fülldecke Elektropumpe 138 - Manometer 294a/294b - Sperrventil
41 - Rückschlagventil 139 - Elektropumpe 298 - Schalttafel
121 - Ausdehnungsgefäß 247 - Untergestell
122 - Druckgeber 291 - Ansaugsammelrohr
127 - Schwingungsdämpferfuß 292 - Auslaßsammelrohr
GRUPPE 2 K
GRUPPE 2 JET

Table of Contents

Related product manuals