EasyManua.ls Logo

Daewoo 14C5 - Page 36

Daewoo 14C5
43 pages
Print Icon
To Next Page IconTo Next Page
To Next Page IconTo Next Page
To Previous Page IconTo Previous Page
To Previous Page IconTo Previous Page
Loading...
34
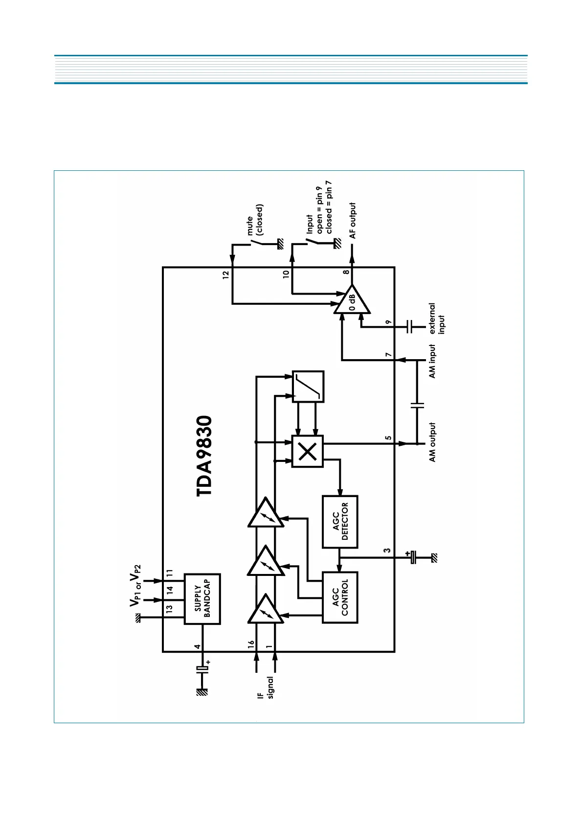
2. TDA9830 TV sound AM-Demodulator and audio source switch
The TDA9830, a monolithic integrated circuit, is designed for AM-sound demodulation used in L and Lstandard.
The IC provides an audio source selector and also mute switch.
Block Diagram : TDA9830
IC DESCRIPTION
APPENDIX