EasyManua.ls Logo

Daewoo DF-4501PV - DVD Playback and Editing; Playing a DVD Title; Erasing a DVD Title

Daewoo DF-4501PV
58 pages
Print Icon
To Next Page IconTo Next Page
To Next Page IconTo Next Page
To Previous Page IconTo Previous Page
To Previous Page IconTo Previous Page
Loading...
50
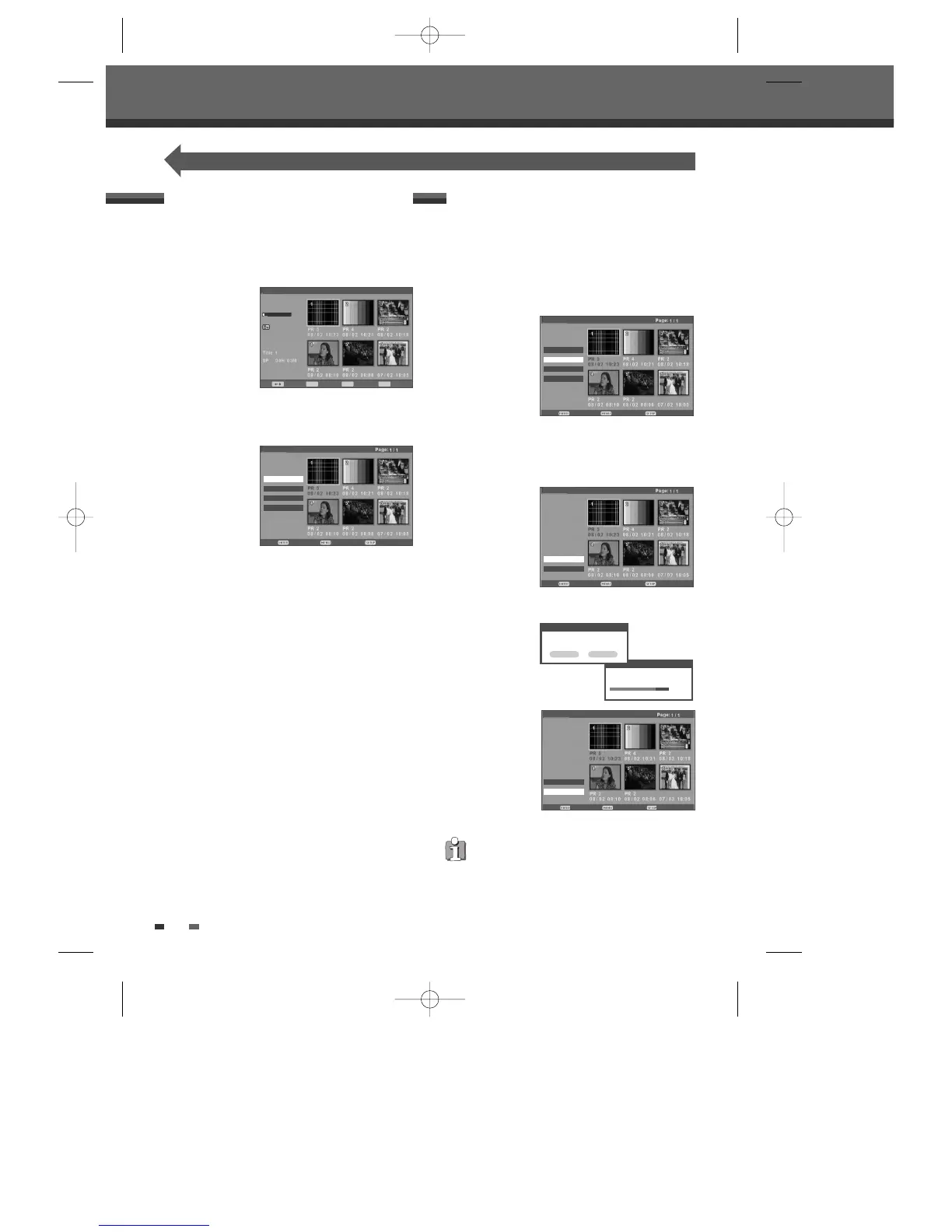
Follow these instructions to erase a title from the Title
List.
1 Select the title to be erased using […†œ √] and
press [ENTER].
2 Then select ‘Erase‘ using [… †] on the left side
menu.
3 Press [ENTER] to erase the title.
4 Select 'Erase Title' and a confirming message
appears.
Select ‘OK’ by using [
œ √] and press [ENTER].
Erasing a DVD title
If you want to erase all titles, select 'Erase All'
instead of selecting 'Erase Title'.
Confirm Back Exit
Title List
Play
Protect
Edit
Confirm Back Exit
Title List
Erase Title
œ Erase All
Erase Title
Erasing title, please wait...
80%
Erase
Do you want to erase this title?
OK Cancel
Confirm Back Exit
Title List
œ Erase Title
Erase All
Erase
Follow these instructions to play back a scene from the
Title List.
1 Select the title to playback using […†œ √] and
press [ENTER].
2 Then select ‘Play‘ using [… †] on the left side
menu of the screen. Press [ENTER] to play the
title.
Or press [PLAY/PAUSE] to play the title.
3 To stop playback at any time, press [STOP]. Then
it will return to the TV screen.
Repeat
While playing the DVD, each press of the [REPEAT]
button changes the repeat mode as follows: Title
Chapter All Off Title ...
DVD Playback and Editing
DVD Playback and Editing
This section explains various functions of DVD editing.
Playing a DVD title
Confirm Back Exit
Title List
Play
Erase
Protect
Edit
DVD+VR
DVD+VR
DVD+VR
DVD+VR
Wiederg. Ändern Text Ende
Title List Page : 1 / 1
Recent First
DVD+VR
No label
18%
SP 01H 11M
Move Play Edit Exit
ENTERPLAY SETUP
DF-H3512P-UL¿ 2008.1.25 5:21 PM ˘ ` 50 mac001 1200DPI 100LPI

Table of Contents

Related product manuals