EasyManua.ls Logo

Dahua KTA02 - 3 Wiring Configurations; 3.1.1 Port Connection Rules

Dahua KTA02
18 pages
Print Icon
To Next Page IconTo Next Page
To Next Page IconTo Next Page
To Previous Page IconTo Previous Page
To Previous Page IconTo Previous Page
Loading...
6
3 Wiring
At most 2 door stations and 3 indoor monitors can be wired in one communication system.
Preparations
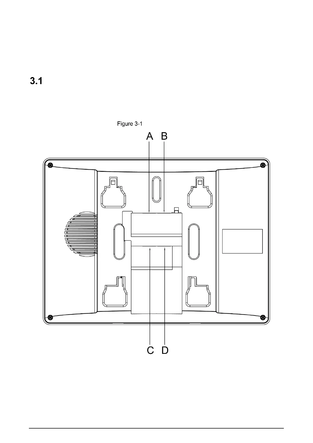
3.1.1 Port Connection Rules
Port connection rules
Port A of an indoor monitor can be connected to Port C of another indoor monitor to do
data communication.
Port B of an indoor monitor can be connected to Port D of another indoor monitor to do
data communication.
Port A of an indoor monitor cannot be connected to Port B or D of another indoor monitor to
do data communication.

Related product manuals