EasyManua.ls Logo

Dahua VTO6100C - Rear Panel

Dahua VTO6100C
43 pages
To Next Page IconTo Next Page
To Next Page IconTo Next Page
To Previous Page IconTo Previous Page
To Previous Page IconTo Previous Page
Loading...
错误!使用“开始”选项卡将 Heading 1 应用于要在此处显示的文字。 11
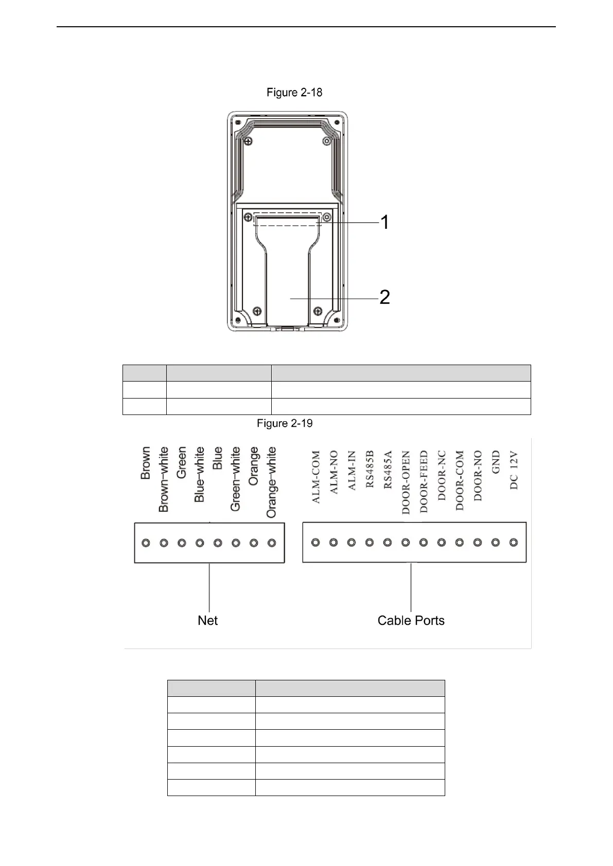
2.5.2 Rear Panel
VTO3211D-P
Table 2-11 Rear panel description
No.
Name
Description
1
Cable ports
See Figure 2-19 and Table 2-12.
2
Cable tray
You can pull the cable through the cable tray.
Connecting cable
Table 2-12 Port description
Name
Description
DC 12V
12V DC power port
GND
Ground
DOOR-NO
Door lock NO port
DOOR-COM
Lock public port
DOOR-NC
Lock NC port
DOOR-FEED
Lock door sensor feedback

Other manuals for Dahua VTO6100C

Related product manuals