EasyManua.ls Logo

Daikin DCS302C51 - Setting Operation Mode; Group Monitoring Function

Daikin DCS302C51
29 pages
Print Icon
To Next Page IconTo Next Page
To Next Page IconTo Next Page
To Previous Page IconTo Previous Page
To Previous Page IconTo Previous Page
Loading...
English 14
Setting operation mode (Fig. 12)
[Registration]
1.
Press the OPERATION MODE SELEC-
TOR BUTTON. Each time you press this
button, the display rotates as shown on
the below list.
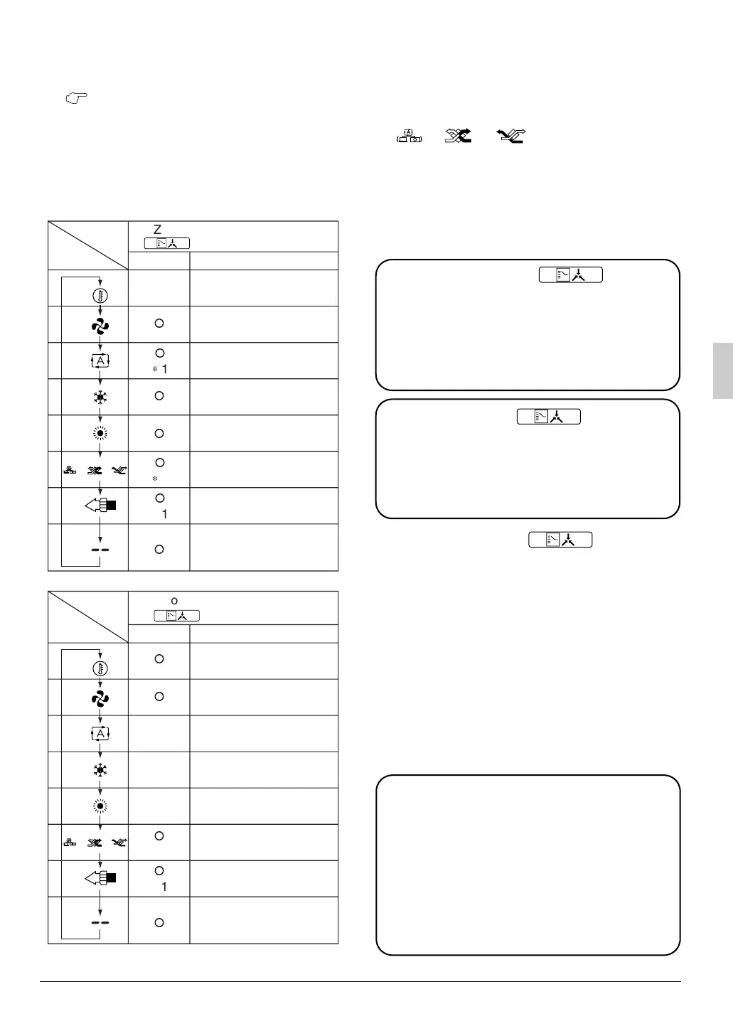
List of operations which can be set
In the below list, refers to the acceptable set-
ting, while × refers to the not acceptable setting.
1: Setting may not be acceptable depending on the
type of indoor unit with which this unit is connected.
2: In zone control, the units run in temperature adjust-
ment mode (heating or cooling) for the outdoor sys-
tem for the groups registered to those zones.
Heating or cooling selection is not available.
*3: or or
Changing the ventilation mode cannot be done in
the zone screen. Changing the ventilation mode
should be done in the individual screen.
4:
In group control, the units run in temperature adjust-
ment mode (heating or cooling) for the group outdoor
system. Heating or cooling selection is not available.
The Zone consists of the following two cases.
See page 18 if the display“” is flashing.
Fan operation can be performed for each zone using
the central remote controller even if there is no cool-
ing/heating selection right during cooling or heating.
Also, if a Ventiair is connected in the zone, ventila-
tion and ventilation cleaning operation is possible.
See the included operating manuals for details.
When the indoor unit is in heat operation, change the set-
ting to FAN operation through the central remote control-
ler; then, you can switch the fan speed to the extremely
low fan speed. Warm air may blow if any other indoor unit
belonging to the same system is in heat operation.
The indoor fan stops during defrost/hot start.
DRY cannot be set from the central remote controller.
Group monitoring (Fig. 13)
1
Display Setting Contents of setting
Can be set in individual
zones or groups
Can be set in individual
zones or groups
Can be set in individual
zones or groups
Can be set in individual
zones or groups
Can be set in individual
zones or groups 3
Can be set in individual
zones or groups
Select this display if you
dont wish to set by
zone.
×
¡
¡
¡
¡
¡
1
¡
1
¡
1
A: Zones and groups with no
display.
or or
Display Setting Contents of setting
Can be set in individual
zones or groups
Can be set in individual
zones or groups 3
Can be set in individual
zones or groups
To be set by zone
2
Select this display if you
dont wish to set by zone.
¡
¡
×
×
¡
×
¡
1
¡
1
B: Zones and groups with a
display.
The displays are
shown by group 4
The displays are
shown by group 4
or or
A. Zone without display“”
The group with master remote controller setting
exists in this zone.
Setting the master remote controller enables cool/
heat selection.
Operations other than cool/heat operations can also
be set for some operations. For further details, see
the list on the left.
B. Zone with display“”
No group with master remote controller setting
exists in this zone.
The cool/heat selection is not available because the
master remote controller has not been set.
Some operations other than cool/heat operations
can be set. For further details, see the list in the left.
Utilize the group monitor function in each of the fol-
lowing cases:
1. Check the malfunction code.
(See the next page.)
2. Check the group that requires cleaning of the air
filter and air cleaner element. (See page 19.)
3. Change the setting of the master remote control-
ler. (See page 18.)
4. Check the group(s) sharing the same outdoor
unit. Or, check the particular group(s) with the
master remote controller setting. (See page 18.)
5. Check the conditions of other individual groups.
3P124623-2A_EN.fm Page 14 Tuesday, December 16, 2003 4:32 PM

Related product manuals