EasyManua.ls Logo

Daikin FTY25CVMA - Removal of Bellmouth and Left Side Plate

Daikin FTY25CVMA
212 pages
Print Icon
To Next Page IconTo Next Page
To Next Page IconTo Next Page
To Previous Page IconTo Previous Page
To Previous Page IconTo Previous Page
Loading...
Si01-406 R25/35CV1A, RY25/35CVMA
Removal Procedure 167
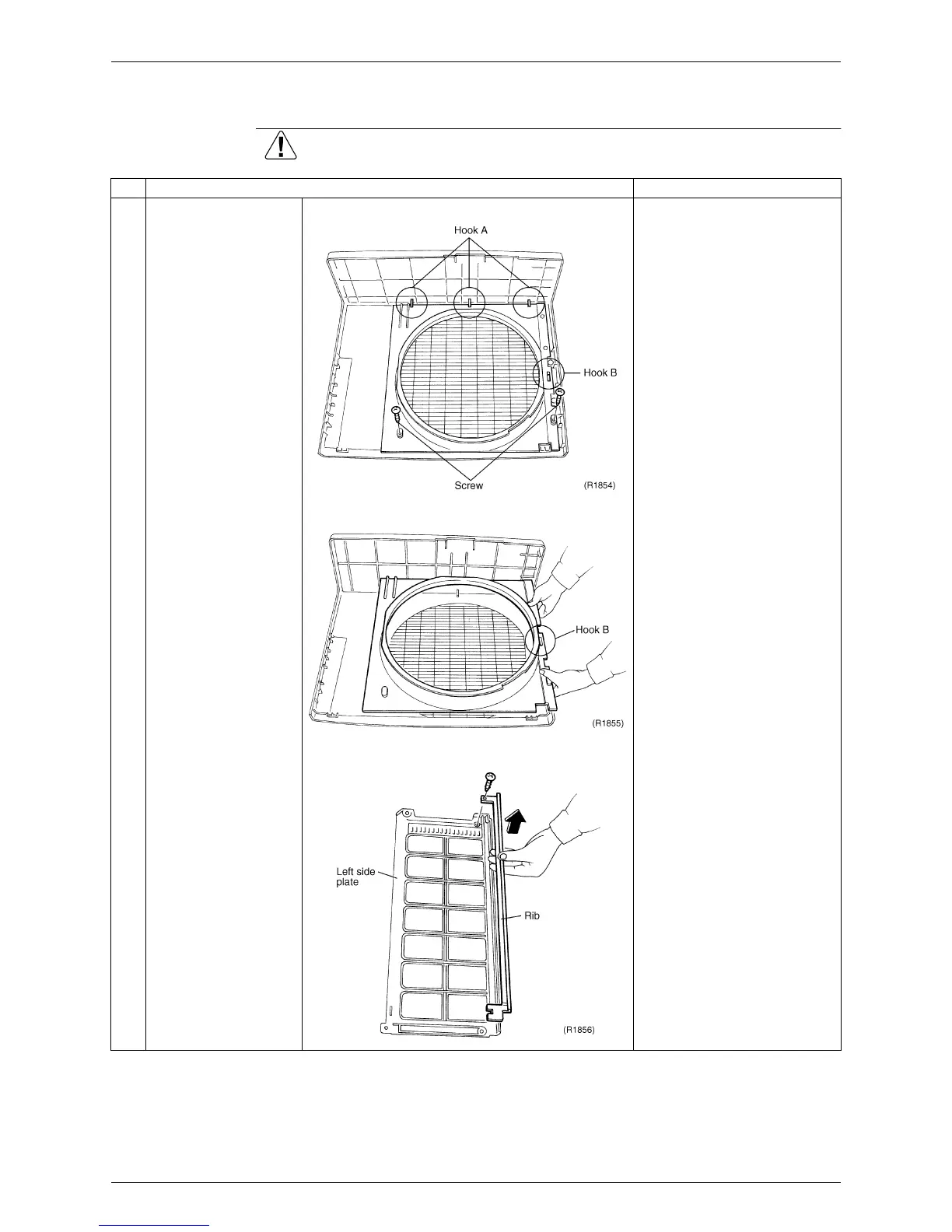
3.2 Removal of Bellmouth and Left Side Plate
Procedure Warning Be sure to wait 10 minutes or more after turning off all power supplies
before disassembling work.
Step
Procedure Points
1
The bellmouth is
attached with two
screws and four hooks.
Remove the bellmouth,
beginning the front plate
after removing the two
screws which are set below.
2
Remove the two screws
and pull the bellmouth
forward to remove, as
the four hooks are
provided.
Slide the bellmouth in the
arrow direction to disengage
the hook B.
3
The rib is equipped on
the left side plate and it
can be disengaged
when the one fixed
screw is removed.

Table of Contents

Related product manuals