EasyManua.ls Logo

Daikin FWECSA - Forced Operations and Valve Control; Forced Operations; Valve Control Types

Daikin FWECSA
28 pages
Print Icon
To Next Page IconTo Next Page
To Next Page IconTo Next Page
To Previous Page IconTo Previous Page
To Previous Page IconTo Previous Page
Loading...
EN
13
OPERATION MANUAL
It is strictly forbidden to reproduce this manual, even partially
FC66003946
Rev 00
Controller for units
FWECSA
FORCED OPERATIONS
Normal ventilation logic (modulating and non-modulating)
will be ignored in particular forcing situations which could be
necessary for the correct temperature control or functioning
of the terminal.
Possible situations:
• in COOLING MODE:
- with on-board controller and configurations with
valve: the minimum available speed is maintained
even when the temperature is reached
- with on-board controller and configurations without
valve: every 10 minutes a 2-minute washing at
medium speed with the fan stopped allows the air
probe to perform a more precise room temperature
reading.
- if ventilation is set on standby always ON, the
selected speed is maintained once the temperature
setpoint is reached.
• in HEATING MODE:
- with the heater on: ventilation is forced at medium
speed
- once the heater is switched off: post-ventilation is
maintained at medium speed for 2 minutes. (NB:
this ventilation will be completed even should the
thermostat be turned off or pass to the cooling
mode.)
- if ventilation is set on standby always ON, the
selected speed is maintained once the temperature
setpoint is reached.
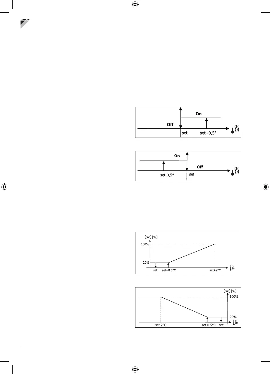
VALVE
The control can manage 2- or 3-way ON/OFF (i.e. fully open
or fully closed) or modulating valves (valve opening can
range between 0% and 100%).
ON/OFF VALVE
Valve (2- or 3-way) opening is controlled depending on the
operating setpoint and air temperature setpoint.
COOLING
HEATING
MODULATING VALVE
Valve ( 2- or 3-way) opening is controlled depending on the
operating setpoint and air temperature setpoint. The opening
adjustment logic follows the diagrams provided below.
COOLING
HEATING WITH 3-SPEED CONFIGURATIONS

Related product manuals