EasyManua.ls Logo

Daikin FWECSA - Dehumidification and Alarms; Dehumidification Logic; Water Consent for Dehumidification; System Alarms

Daikin FWECSA
28 pages
Print Icon
To Next Page IconTo Next Page
To Next Page IconTo Next Page
To Previous Page IconTo Previous Page
To Previous Page IconTo Previous Page
Loading...
EN
15
OPERATION MANUAL
It is strictly forbidden to reproduce this manual, even partially
FC66003946
Rev 00
Controller for units
FWECSA
Once the temperature returns above 10°C, the thermostat
will go back Off.
Pressing OFF on the digital input will deactivate
this logic.
DEHUMIDIFICATION
The dehumidification function, which can only be used in
Cooling mode, if a humidity probe has been included in the
configuration menu, makes the unit operate with the aim
of reducing any humidity in the room, until it reaches the
setpoint level entered in the setup menu parameter.
LOGIC
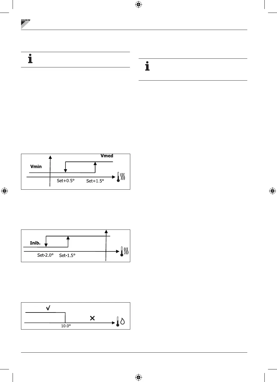
Ventilation speed will be forced to low, or, if the temperature
is much higher than the entered set, to medium speed.
They must bring humidity back to the set value (and the
valve, if installed), ventilation will switch on even if the room
temperature has already reached the relative set (shown on
the display). If it drops too far below this threshold, the logic
will be temporarily disabled.
WATER CONSENT
Consent to switch on dehumidification depends on water
temperature control. The following is the relative consent logic:
If there is no consent the dehumidification function will be
momentarily disabled. This will also happen if the probe is
disconnected.
Once the reference humidity level is
reached or the controller is placed on Off,
dehumidification will switch off.
ALARMS
The alarms managed by the controller refer to missing
probes required by the unit's configuration. Accordingly, the
following are possible alarms:
• Air probe alarm
• Water probe alarm
• Humidity probe alarm

Related product manuals