EasyManua.ls Logo

Daikin Super Multi NX B series - Page 276

Daikin Super Multi NX B series
302 pages
Print Icon
To Next Page IconTo Next Page
To Next Page IconTo Next Page
To Previous Page IconTo Previous Page
To Previous Page IconTo Previous Page
Loading...
Si12-308 Piping Diagrams
Appendix 265
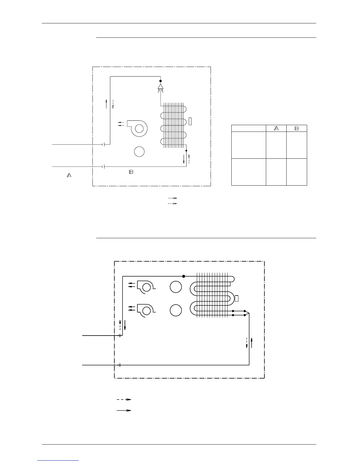
CDK(X)S25 / 35 / 50 / 60BVMB
1.1.3 Floor Standing Type
FVK(X)S25 / 35BVMB
FIELD PIPING
FIELD PIPING
(
(
6.4CuT
)
CuT
)
INDOOR UNIT
SIROCCO FAN
(
6.4CuT
)
(
FAN MOTOR
CuT
)
M
REFRIGERANT FLOW
HEAT EXCHANGER
HEATING
COOLING
THERMISTOR
ON HEAT
EXCH.
CDKS35BVMB
CDXS35BVMB
CDKS25BVMB
CDXS25BVMB
9.5 9.5
CDKS60BVMB
CDXS60BVMB
CDKS50BVMB
CDXS50BVMB
12.7 12.7
C : 4D033699A
FIELD PIPING
FIELD PIPING
(
6.4CuT
)
(
9.5CuT
)
REFRIGERANT FLOW
SINGLE UNION JOINT
SINGLE UNION JOINT
INDOOR UNIT
7.9CuT
CROSS FLOW FAN
CROSS FLOW FAN
COOLING
HEATING
FAN MOTOR
FAN MOTOR
9.5CuT
M
M
HEAT EXCHANGER
7.0CuT
7.0CuT
ON HEAT EXCH.
THERMISTOR
4D034714A

Table of Contents

Related product manuals