EasyManua.ls Logo

Danfoss ECL Comfort 296 - Page 34

Danfoss ECL Comfort 296
199 pages
Print Icon
To Next Page IconTo Next Page
To Next Page IconTo Next Page
To Previous Page IconTo Previous Page
To Previous Page IconTo Previous Page
Loading...
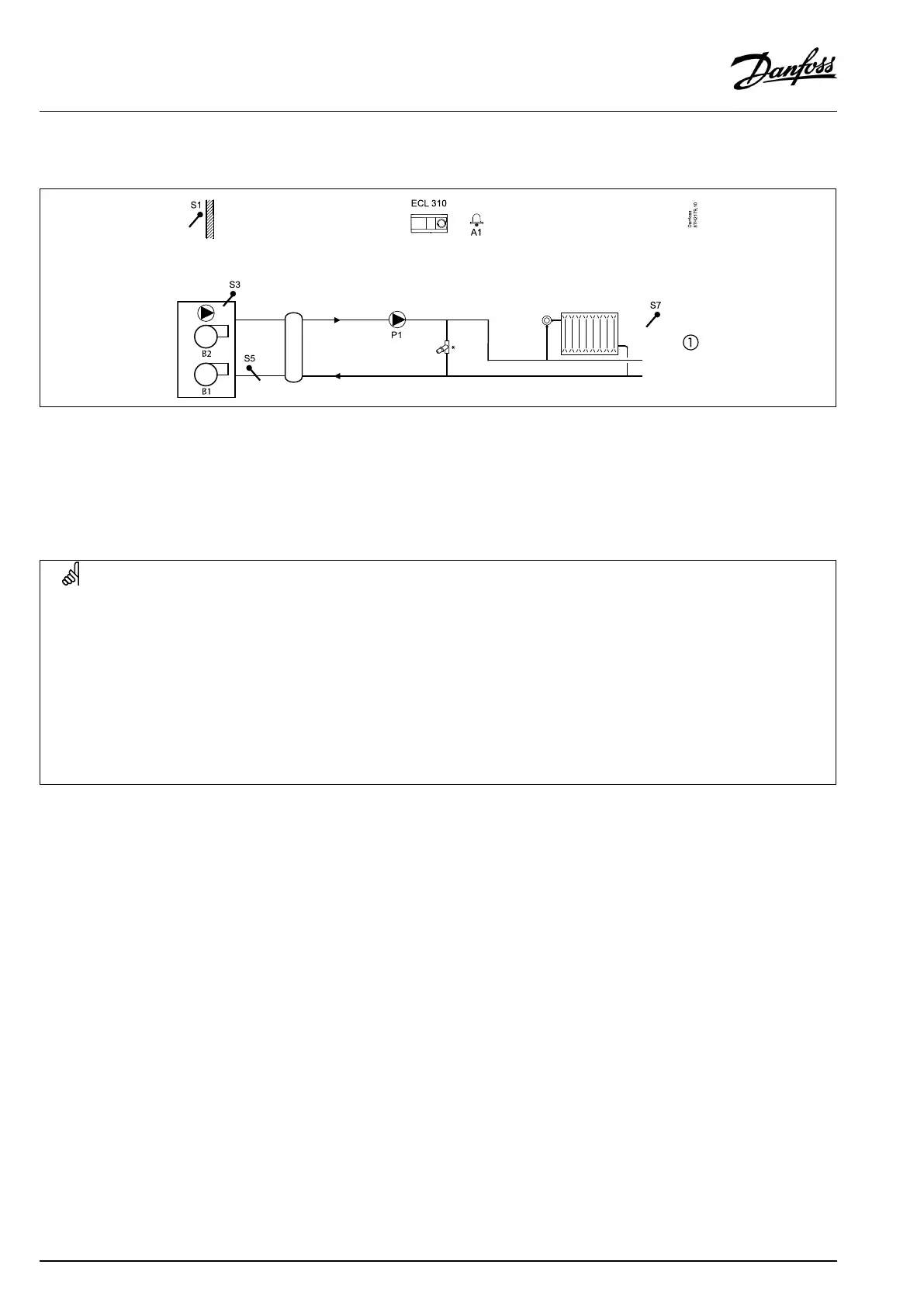
A375.1,examplec
Oneboilerwith2xburnerON/OFFcontrolforaheatingcircuit.Theboilercircuitisequippedwithalowlossheader.
*=pressurereliefvalve
Thepumpintheboilerisnotcontrolled.
Fixedsequence:Burner1mustbeswitchedONbeforeburner2canbeswitchedON
Burner1isactiveatlowheatdemand.Atincreasedheatdemandburner2isactivatedadditionally.
Thelastburnerstepcanbedisablediftheoutdoortemperatureishigherthanasetvalue.
SpecialsettingsfortypeA375.1,examplec:
Navigation:
IDno.:
Recommendedsetting:
Heatingcircuit(circuit1)
Sequencetype(code)forcontrollingtheburners:
MENU\Settings\Boiler:'Sequencetype'
110723
Numberoftotalburnersteps:
MENU\Settings\Boiler:‘Steps'
110732
34|©Danfoss|2017.09
VI.GU.L2.02
OperatingGuideECLComfort210/296/310,applicationA275/A375

Other manuals for Danfoss ECL Comfort 296

Related product manuals