EasyManua.ls Logo

Danfoss FT1330 - Page 35

Danfoss FT1330
56 pages
Print Icon
To Next Page IconTo Next Page
To Next Page IconTo Next Page
To Previous Page IconTo Previous Page
To Previous Page IconTo Previous Page
Loading...
Danfoss FT1330 Crimp Machine Operators Manual
AQ439269212774en-000101
© Danfoss FT1330 Crimp Machine Operator’s Manual | 2023.02. | 35
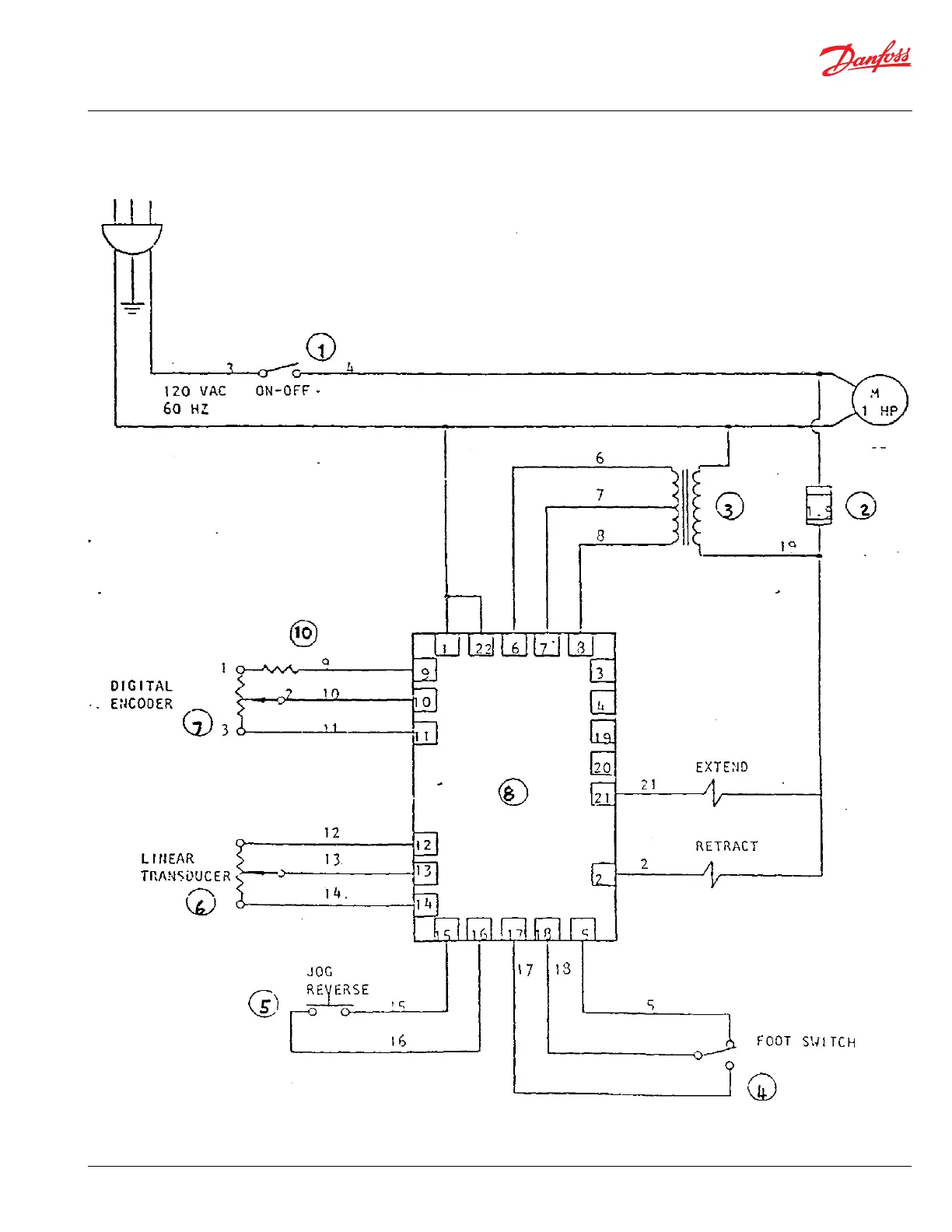
115 Volt Electrical Schematic