EasyManua.ls Logo

Danuser EP6 Hex - Augers & Accessories

Danuser EP6 Hex
30 pages
Print Icon
To Next Page IconTo Next Page
To Next Page IconTo Next Page
To Previous Page IconTo Previous Page
To Previous Page IconTo Previous Page
Loading...
26
Augers &
Accessories
= Safety Sign
Location
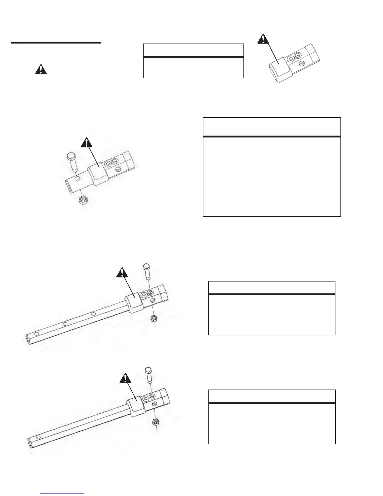
AUGER COLLAR
DESCRIPTION PART NO.
2Ǝ Hex 10328
2-9/16Ǝ Rd. 10329
AUGER ADAPTERS
DRIVE
UNIT
AUGER
COLLAR
PART
NO.
2Ǝ Hex to 2-9/16Ǝ Rd. 10921
2Ǝ Hex to 2Ǝ5G 10922
2-9/16Ǝ Rd. to 2Ǝ Hex 10923
2-9/16Ǝ Rd. to 2Ǝ5G 10924
2Ǝ Hex to 2-9/16Ǝ Rd. *20211
2-9/16Ǝ Rd. to 2-9/16Ǝ Rd. *20212
2Ǝ Hex to 2Ǝ5G *20214
2-9/16Ǝ Rd. to 2Ǝ5G *20215
VARIABLE LENGTH EXTENSIONS
LENGTH
2Ǝ HEX 2-9/16Ǝ RD.
12Ǝ ---- 10903
24Ǝ 10900 10904
48Ǝ 10901 10905
72Ǝ 10902 10906
FIXED LENGTH EXTENSIONS
LENGTH
2Ǝ HEX 2-9/16Ǝ RD.
12Ǝ 10910 10914
24Ǝ 10911 10915
48Ǝ 10912 10916
72Ǝ 10913 10917
*Allows attachment of augers with 1/2" diameter bolt.

Related product manuals