EasyManua.ls Logo

Data Aire DAL-06 - Figure 6 Typical Water;Glycol System

Data Aire DAL-06
83 pages
Print Icon
To Next Page IconTo Next Page
To Next Page IconTo Next Page
To Previous Page IconTo Previous Page
To Previous Page IconTo Previous Page
Loading...
33
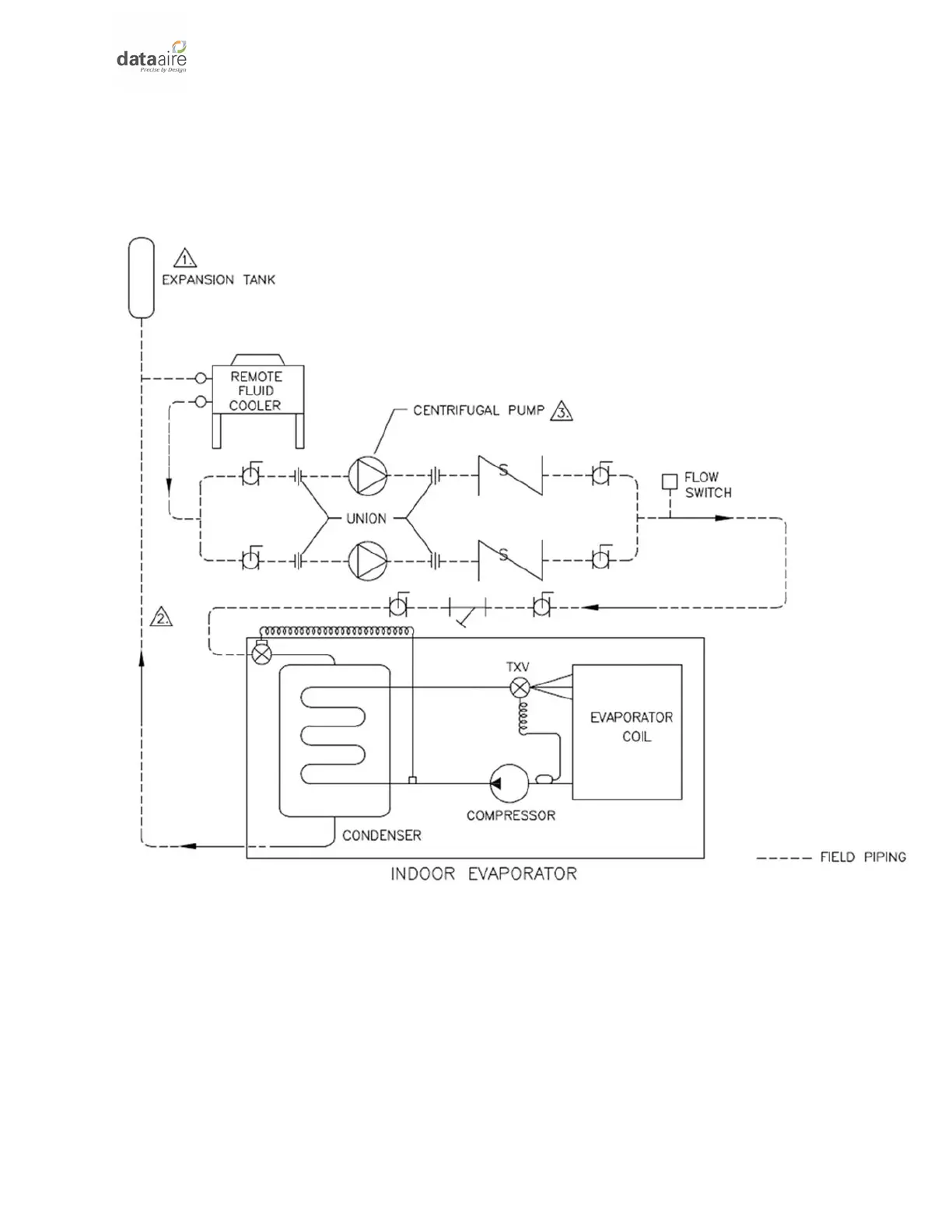
The water/glycol system may include a centrifugal pump (or pumps, for redundancy) available from
Data Aire as an option, along with field provided union(s), shutoff valves, check valve(s) and a flow
switch (Data Aire option). Pumps must be primed before operating per the pump manufacturer’s
guidelines.
Figure 6 Typical Water/Glycol System
NOTE: Unless otherwise specified by job specific documentation
1. The expansion tank is a required component of a proper system installation. The tank can
be provided by Data Aire or by others.
2. All Water/Glycol field piping must be designed and installed in accordance with ASHRAE
standards and local codes.
3. Centrifugal pumps and component are optional. Flow switch required with dual pumps,
otherwise optional.

Table of Contents

Related product manuals