EasyManua.ls Logo

Debem BOXER - Caracteristiques Techniques; Technical Features

Debem BOXER
68 pages
Print Icon
To Next Page IconTo Next Page
To Next Page IconTo Next Page
To Previous Page IconTo Previous Page
To Previous Page IconTo Previous Page
Loading...
10
www.debem.it
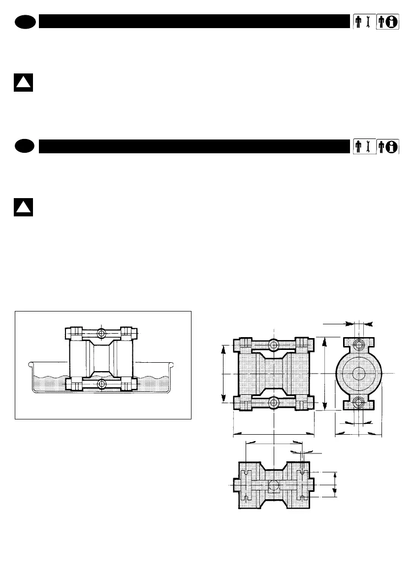
CARATERISTIQUES TECHNIQUES
Les données référées aux prestations se réfèrent aux
exécutions standard. Les valeurs de «Débit MAX» et
«Capacité d’aspiration»se réfèrent au pompage d’eau à 18°C,
le collecteur étant immergé (voir gure 1).
ATTENTION: la capacité d’aspiration négative
à sec déclarée se réfère au prélèvement de
uidespéciqueégal à 1; le rendement et la durée
des, membranes de la pompe dépendent des facteurs
suivants:
- viscosité et poids spécique du uid
- longueur et diamètre du tuyau d’aspiration.
ASPIRAT. NÉGATIVE: avec fuides max. jusqu’à 5.000 cps à
18°C
ASPIRAT. SOUS BATTANT: avec fuides jusqu’à 50.000 cps
à 18°C
!
g. 1
A
B
C
D
E
F
G
m
a
F
TECHNICAL FEATURES
The performances data refers to standard versions. “MAX
delivery” and “Suction capacity” values refer to the pumping of
water at 18°C with a submersed manifold (please see g. 1).
(1) (2)
WARNING: the declared capacity of dry negative
suction refers to the intake of uids with a viscos-
ity and specic weight equal to 1; the performance
and duration of the pump’s membrane depend on the
following factors:
- the uid’s viscosity and specic weight;
- the length and diameter of the suction pipe.
NEGATIVE SUCTION: with uids max. up to 5,000 cps at 18° C
BELOW HEAD SUCTION: with uids up to 50,000 cps at 18° C
GB
!
B50 - B80 - B81 - B100 - B150
B251 - B502 - B522 - B503
B15 - MICROBOXER - MINIBOXER

Related product manuals