EasyManua.ls Logo

Debem BOXER - Page 59

Debem BOXER
68 pages
Print Icon
To Next Page IconTo Next Page
To Next Page IconTo Next Page
To Previous Page IconTo Previous Page
To Previous Page IconTo Previous Page
Loading...
59
info@debem.it
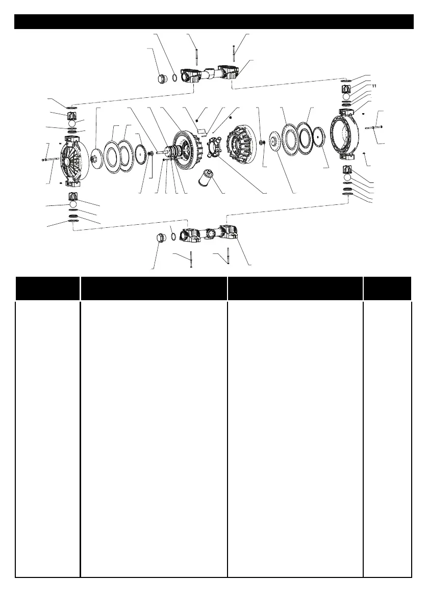
BOXER 522 EN PLASTIQUE
BOXER 522 PLASTIC MADE
F
GB
POSIZIONE
POSITION
DESCRIPTION DESCRIPTION
Quantité
Quantity
1
2
3
4
5
5b
6
7
8
9
10
11
12
13
17
17a
18
19
21
23
25
26
27
28
29
36
37
47
48
Corps central
Bride côté air
Corps pompe
Collecteur
Siège sphère
Cage guidesphére
Arbre
Silencieux
Plateau intérieur
Ressort Belleville
Capuchon
Sphère
Membrane intèrieure
Membrane extérieure
Joint siège sphère inf.
Joint siège sphère sup
Bouchon collecteur
Echangeur
Entretoise
Ecrouvis centrale
Vis corps pompe
Joint bouchon collecteur
Vis pour collecteur
Rondelle
Rondelle
Rondelle
Écrou bridé x centrale
Broche
Rallonge
Central body
Flange air side
Pump casing
Manifold
Ball seat
Ball runner cage
Shaft
Silencer
Internal cap
Belleville washer
Cap
Ball
Internal diaphragm
External diaphragm
Ball seat packing low
Ball seat packing up
Manifold cap
Exchanger
Spacer
Bolt
central screw
Pump casing screw
Manifold cap packing
Manifold screw
Washer
Washer
Washer
anged nut for central
pin
1
2
3
4
5
5b
6
7 89
10
11
1213
17
17a
18
19 2123
25
2627
29
37
38
49
50 5152
14
28
36
26
27
36
4
18
17a
17a
17a
5
5
5
17
17
17
11
11
5b
5b
5b
10
12
13
8
9
29
28
21
11

Related product manuals