EasyManua.ls Logo

Deltronic Labs Ticket Eater TT-2000 - Electrical Schematics

Deltronic Labs Ticket Eater TT-2000
64 pages
Print Icon
To Next Page IconTo Next Page
To Next Page IconTo Next Page
To Previous Page IconTo Previous Page
To Previous Page IconTo Previous Page
Loading...
TT-2000, TTD-2000, TT-4000 Ticket Eaters by Deltronic Labs June 2019
40
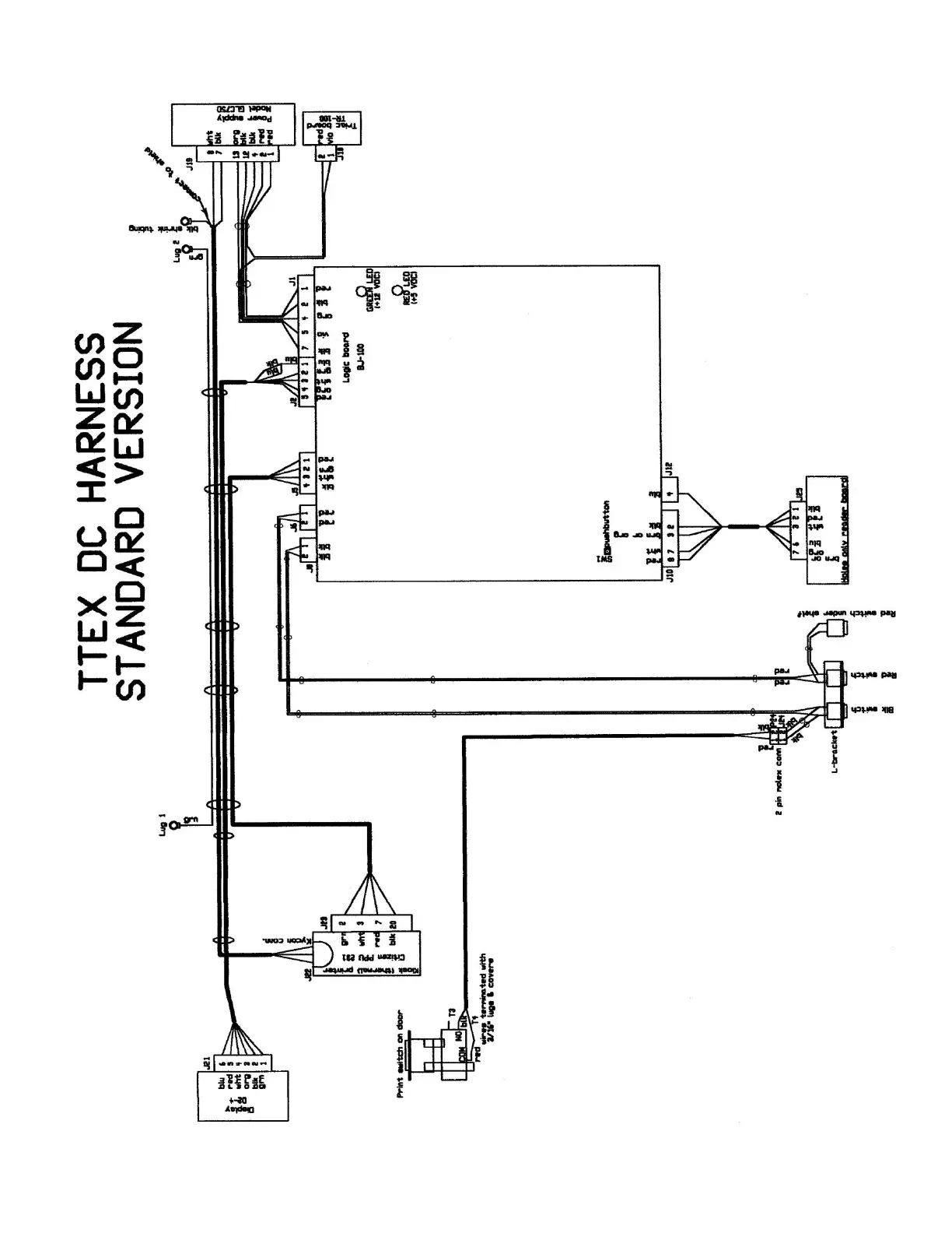
Electrical Schematics
TT-2000, TTD-2000