EasyManua.ls Logo

Dexter Laundry T-50 - Descrizione Dei Comandi Dellasciugatrice

Dexter Laundry T-50
187 pages
Print Icon
To Next Page IconTo Next Page
To Next Page IconTo Next Page
To Previous Page IconTo Previous Page
To Previous Page IconTo Previous Page
Loading...
39
8514-311-001 REV PR
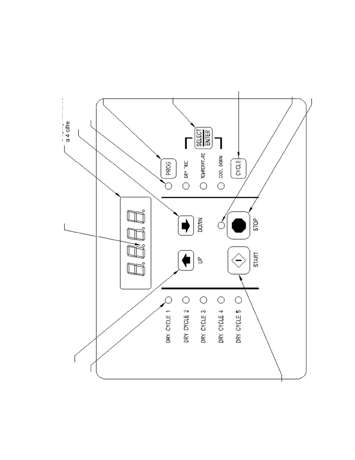
Display numerico
a 4 cifre
7.2.1 Descrizione dei comandi dell'asciugatrice
Figura 7-6 Interfaccia utente
Interruttore touch
pad di arresto
LED
di arresto
Interruttore
touch pad di
programmazio
ne del ciclo
Interruttore
touch pad di
programmazione
invio/selezione
Interruttore touch pad
di
p
ro
g
rammazione
LED di
programmazione
(4)
LED del
relè termico
Interruttore touch
pad su/incremento
LED
dei cicli (5)
Interruttore touch pad di avvio
Interruttore touch
pad giù/diminuzione

Table of Contents

Other manuals for Dexter Laundry T-50

Related product manuals