EasyManua.ls Logo

DIMOEL DKC500DC - Programación Emisores

DIMOEL DKC500DC
Print Icon
To Next Page IconTo Next Page
To Next Page IconTo Next Page
To Previous Page IconTo Previous Page
To Previous Page IconTo Previous Page
Loading...
16
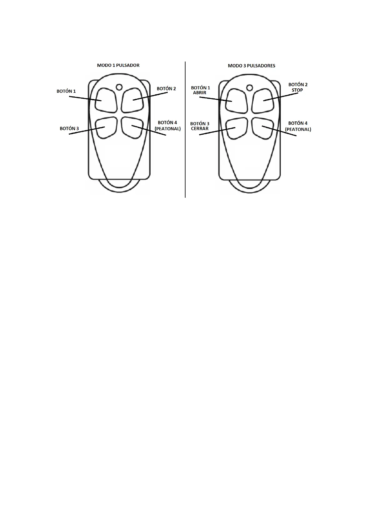
3.3.8 Programación emisores:
Presione y mantenga presionado el botón de programación de los mandos K4
durante dos segundos. El indicador de luz LRN se encenderá, presione
entonces 2 veces el botón del mando que quiere programar la luz parpadeará
varias veces antes de apagarse. El aprendizaje del mando estará completo.
El botón 4 se programa automáticamente en función peatonal cuando se graba
el mando. La apertura peatonal, permite abrir la puerta parcialmente para un
paso de peatones.
Se pueden programar un máximo de 25 mandos.
Borrado mandos:
Para borrar el receptor: presione y mantenga presionado el botón de
programación de los mandos K4, la luz se encenderá, mantenga el botón
presionado hasta que vuelva a apagarse la luz roja. Cuando la luz se haya
apagado todos los mandos habrán sido borrados.
NOTA: Después de instalar o quitar corriente al motor, por favor haga un
ciclo de apertura y cierre completos presionando el botón del mando o
del botón externo. El cuadro de maniobras memorizará el recorrido de la
puerta y la función de la parada suave será activada en el siguiente ciclo
de trabajo.

Related product manuals