EasyManua.ls Logo

Dimplex 6909660300 - Installation

Dimplex 6909660300
66 pages
Print Icon
To Next Page IconTo Next Page
To Next Page IconTo Next Page
To Previous Page IconTo Previous Page
To Previous Page IconTo Previous Page
Loading...
6 www.dimplex.com
Installation
Le CDFI1000-PRO et le CDFI500-PRO
sont fournis assemblé et conçu pour
une installation permanente. L’appareil
est livré pour une installation câblée
et pour l’utilisation de conteneurs de
recharge.
AVERTISSEMENT : An de
réduire les risques d’incendie,
de décharges électriques et de
blessures, tous les travaux de
construction et de câblage doivent
être conformes au Code du
bâtiment et aux autres règlements
qui s’appliquent.
AVERTISSEMENT : An de réduire
les risques d’incendie, éviter de
conserver ou d’utiliser de l’essence,
d’autres liquides inammables ou
des gaz inammables à proximité
de l’appareil.
!
NOTE: Un circuit de 15 ampères
et de 120 volts est nécessaire. Un
circuit spécialisé est préférable,
mais pas essentiel dans tous les
cas. Un circuit spécialisé sera
nécessaire si, après l’installation,
le disjoncteur se déclenche ou si le
fusible saute régulièrement pendant le
fonctionnement de la cassette. L’ajout
d’appareils sur le même circuit risque
d’excéder la puissance nominale du
disjoncteur.
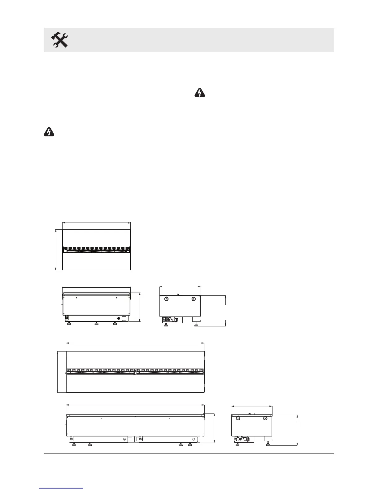
8.50 po. (216 mm)
40.08 po. (1018 mm)
Ensemble de bûches: 13.94 po. (353 mm)
11.94 po. (303 mm)
40.08 po. (1018 mm)
Plateau : 11.94 po. (303 mm)
8.50 po. (216 mm)
20.04 po. (509 mm)
20.04 po. (509 mm)
11.94 po. (303 mm)
CDFI1000P
CDFI500P
Ensemble de bûches: 13.94 po. (353 mm)
Réglable en hauteur de
9.13 po. (232 mm)
à 9.63 po. (245 mm)
Plateau : 11.94 po. (303 mm)
Réglable en hauteur de
9.13 po. (232 mm)
à 9.63 po. (245 mm)
!
NOTE: En préparant
l’ouverture pour l’appareil,
prévoir un espace libre ¼ po
(6.4 mm) de tous les côtés
pour faciliter l’installation.
Dimensions du produit
CDFI500-PRO
CDFI1000-PRO

Other manuals for Dimplex 6909660300

Related product manuals