EasyManua.ls Logo

Dimplex DWOP20R - Heater Assembly Replacement; Component Access; On;Off Switch Replacement

Dimplex DWOP20R
12 pages
Print Icon
To Next Page IconTo Next Page
To Next Page IconTo Next Page
To Previous Page IconTo Previous Page
To Previous Page IconTo Previous Page
Loading...
7
HEATER ASSEMBLY REPLACEMENT
Tools Required: Philips head screwdriver
Flat head screwdriver
WARNING: If the replace was operating prior to ser-
vicing, allow at least 10 minutes for light bulbs and heating
elements to cool off to avoid accidental burning of skin.
WARNING: Disconnect power before attempting any
maintenance to reduce the risk of electric shock or damage
to persons.
1. Carefully remove the rocks from the front tray.
2. Remove the replace assembly from the wall by care-
fully lifting it upward, releasing it from the anges of the
wall-mounting bracket.
3. Carefully set the unit upright on a at working surface.
!
NOTE: If necessary, lay a protective barrier between
the unit and your work surface, (i.e. cloth, cardboard, thick
plastic) to avoid scratching your work surface.
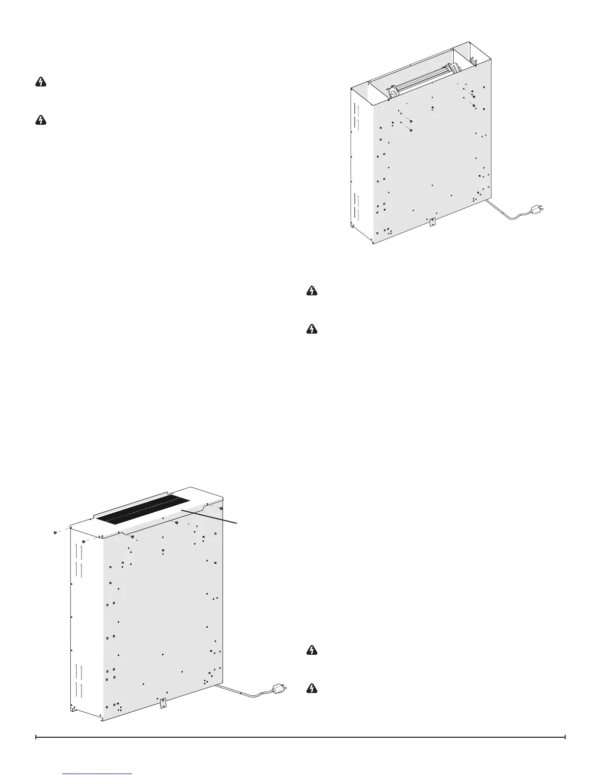
4. Remove the three screws along the back edge of the
top of the unit and the two screws along the top of the
side edge. (Figure 5)
5. Gently remove the top panel, laying it on the work sur-
face so that all of the components can easily be seen.
6. Remove the 4 screws that secure the heater assembly
to the back panel. (Figure 6)
7. Disconnect the wiring connections noting their original
locations.
!
NOTE: A at head screwdriver can be used to gently
pry between the end of the connector and the switch to
release the wires.
8. Transfer the mounting brackets from the old heater as-
sembly to the new heater assembly.
9. Properly orient and install the new assembly and con-
nect all of the wiring.
10. Reassemble in the reverse order as above.
Figure 5
COMPONENT ACCESS
Tools Required: Phillips Head Screwdriver
WARNING: If the replace was operating prior to ser-
vicing, allow at least 10 minutes for light bulbs and heating
elements to cool off to avoid accidental burning of skin.
WARNING: Disconnect power before attempting any
maintenance to reduce the risk of electric shock or damage
to persons.
1. Carefully remove the rocks from the front tray.
2. Remove the replace assembly from the wall by care-
fully lifting it upward, releasing it from the anges of the
wall-mounting bracket.
3. Carefully set the unit upright on a at working surface.
!
NOTE: If necessary, lay a protective barrier between
the unit and your work surface, (i.e. cloth, cardboard, thick
plastic) to avoid scratching your work surface.
4. Remove the three screws along the back edge of the
top of the unit and the two screws along the top of the
side edge.
5. Remove the remaining 4 along the front side edge of
the unit on both sides and the three along either side of
the middle back of the unit. (Figure 7)
6. Lay the unit carefully down on the back surface.
7. From this point the entire front (sides and top) can be
lifted off of the back exposing all of the inner compo-
nents.
ON/OFF SWITCH REPLACEMENT
Tools Required: Philips head screwdriver
Flat head screwdriver
WARNING: If the replace was operating prior to ser-
vicing, allow at least 10 minutes for light bulbs and heating
elements to cool off to avoid accidental burning of skin.
WARNING: Disconnect power before attempting any
maintenance to reduce the risk of electric shock or damage
to persons.
Figure 6
Top Panel

Other manuals for Dimplex DWOP20R

Related product manuals