EasyManua.ls Logo

Dimplex DWOP20R - Power Board Replacement; Transformer Replacement; Ir Sensor Replacement; Power Cord Replacement

Dimplex DWOP20R
12 pages
Print Icon
To Next Page IconTo Next Page
To Next Page IconTo Next Page
To Previous Page IconTo Previous Page
To Previous Page IconTo Previous Page
Loading...
9
elements to cool off to avoid accidental burning of skin.
WARNING: Disconnect power before attempting any
maintenance to reduce the risk of electric shock or damage
to persons.
1. Follow “Component Access” instructions before pro-
ceeding.
2. Locate the remote control receiver and disconnect
the wiring connections noting their original locations.
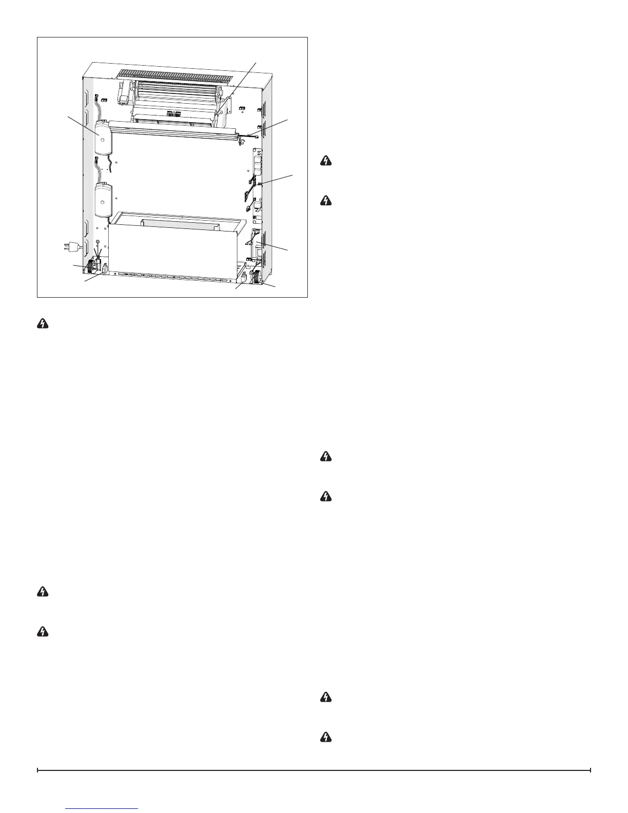
(Figure 8)
!
NOTE: A at head screwdriver can be used to gently
pry between the end of the connector and the board to
release the wires.
3. Remove the screws securing the remote receiver to the
chassis and gently lift the receiver off.
4. Properly orient and install the new remote control re-
ceiver and connect all of the wiring.
5. Reassemble in the reverse order as above.
POWER BOARD REPLACEMENT
Tools Required: Philips head screwdriver
Flat head screwdriver
WARNING: If the replace was operating prior to ser-
vicing, allow at least 10 minutes for light bulbs and heating
elements to cool off to avoid accidental burning of skin.
WARNING: Disconnect power before attempting any
maintenance to reduce the risk of electric shock or damage
to persons.
1. Follow “Component Access” instructions before pro-
ceeding.
2. Locate the power board and disconnect the wiring con-
nections noting their original locations. (Figure 8)
!
NOTE: A at head screwdriver can be used to gently
pry between the end of the connector and the board to
release the wires.
3. Remove the screws securing the power board to the
chassis and gently lift the board off.
4. Properly orient and install the new power board and
connect all of the wiring.
5. Reassemble in the reverse order as above.
TRANSFORMER REPLACEMENT
Tools Required: Philips head screwdriver
Flat head screwdriver
WARNING: If the replace was operating prior to ser-
vicing, allow at least 10 minutes for light bulbs and heating
elements to cool off to avoid accidental burning of skin.
WARNING: Disconnect power before attempting any
maintenance to reduce the risk of electric shock or damage
to persons.
1. Follow “Component Access” instructions before pro-
ceeding.
2. Locate the transformer and disconnect the wiring con-
nections noting their original locations. (Figure 8)
!
NOTE: A at head screwdriver can be used to gently
pry between the end of the connector and the board to
release the wires.
3. Remove the screws securing the transformer to the
chassis and gently lift the board off.
4. Properly orient and install the new transformer and
connect all of the wiring.
5. Reassemble in the reverse order as above.
IR SENSOR REPLACEMENT
Tools Required: Philips head screwdriver
Flat head screwdriver
WARNING: If the replace was operating prior to ser-
vicing, allow at least 10 minutes for light bulbs and heating
elements to cool off to avoid accidental burning of skin.
WARNING: Disconnect power before attempting any
maintenance to reduce the risk of electric shock or damage
to persons.
1. Follow “Component Access” instructions before pro-
ceeding.
2. Locate the IR sensor and disconnect the wiring con-
nection noting their original locations. (Figure 8)
3. Properly orient and install the new IR sensor and con-
nect the wiring.
4. Reassemble in the reverse order as above.
POWER CORD REPLACEMENT
Tools Required: Philips head screwdriver
Flat head screwdriver
Needle nose pliers
WARNING: If the replace was operating prior to ser-
vicing, allow at least 10 minutes for light bulbs and heating
elements to cool off to avoid accidental burning of skin.
WARNING: Disconnect power before attempting any
maintenance to reduce the risk of electric shock or damage
Figure 8
Transformer
Heater Assembly
IR
Sensor
Remote
Receiver
Power
Board
On/Off
Switch
3 Position Switch
Thermostat
Potentiometer

Other manuals for Dimplex DWOP20R

Related product manuals