EasyManua.ls Logo

Dixie Narco 2054 - Page 87

Default Icon
98 pages
Print Icon
To Next Page IconTo Next Page
To Next Page IconTo Next Page
To Previous Page IconTo Previous Page
To Previous Page IconTo Previous Page
Loading...
Page 85
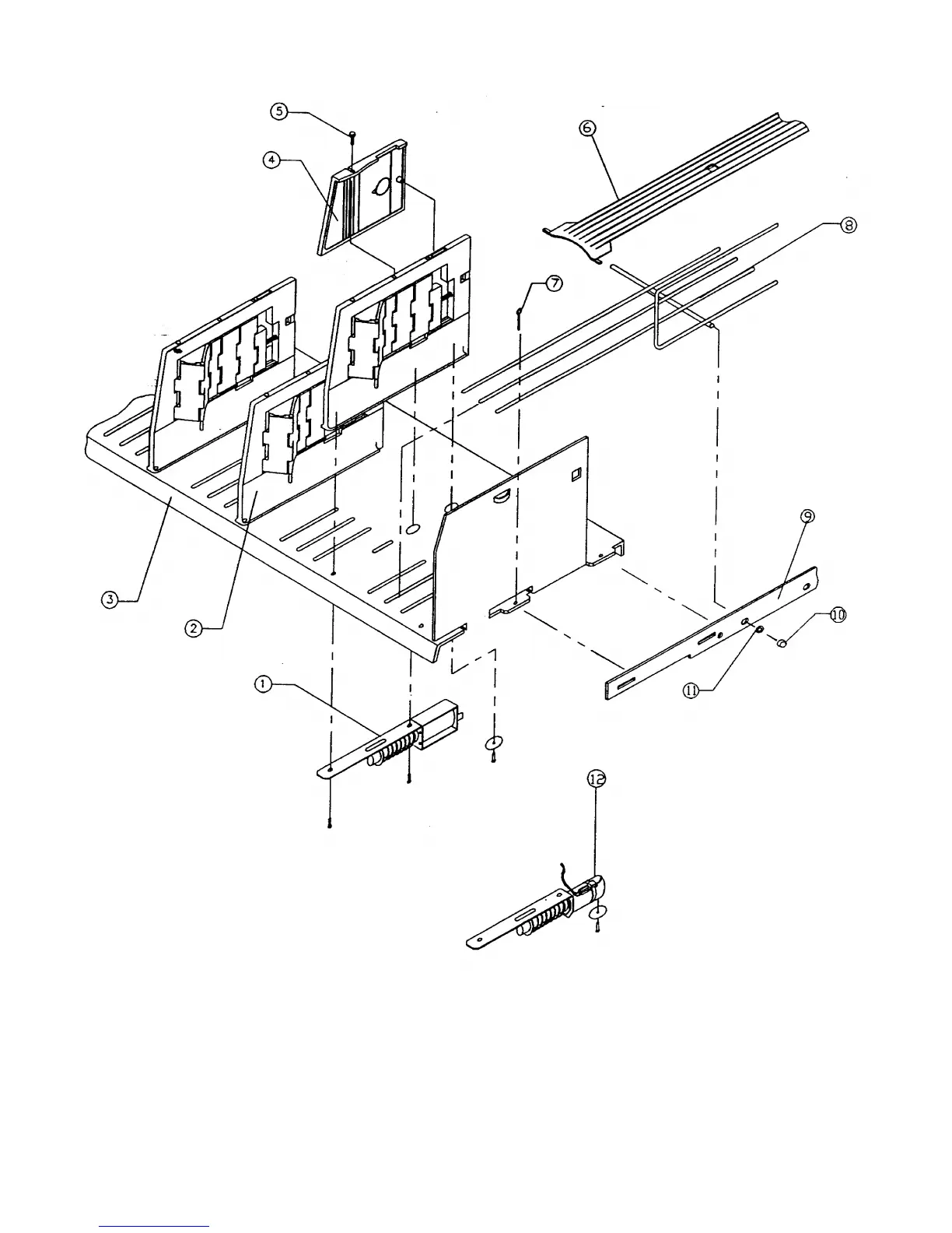
FIGURE 20 – SHORT GATE TRAY DETAIL

Table of Contents

Related product manuals