EasyManua.ls Logo

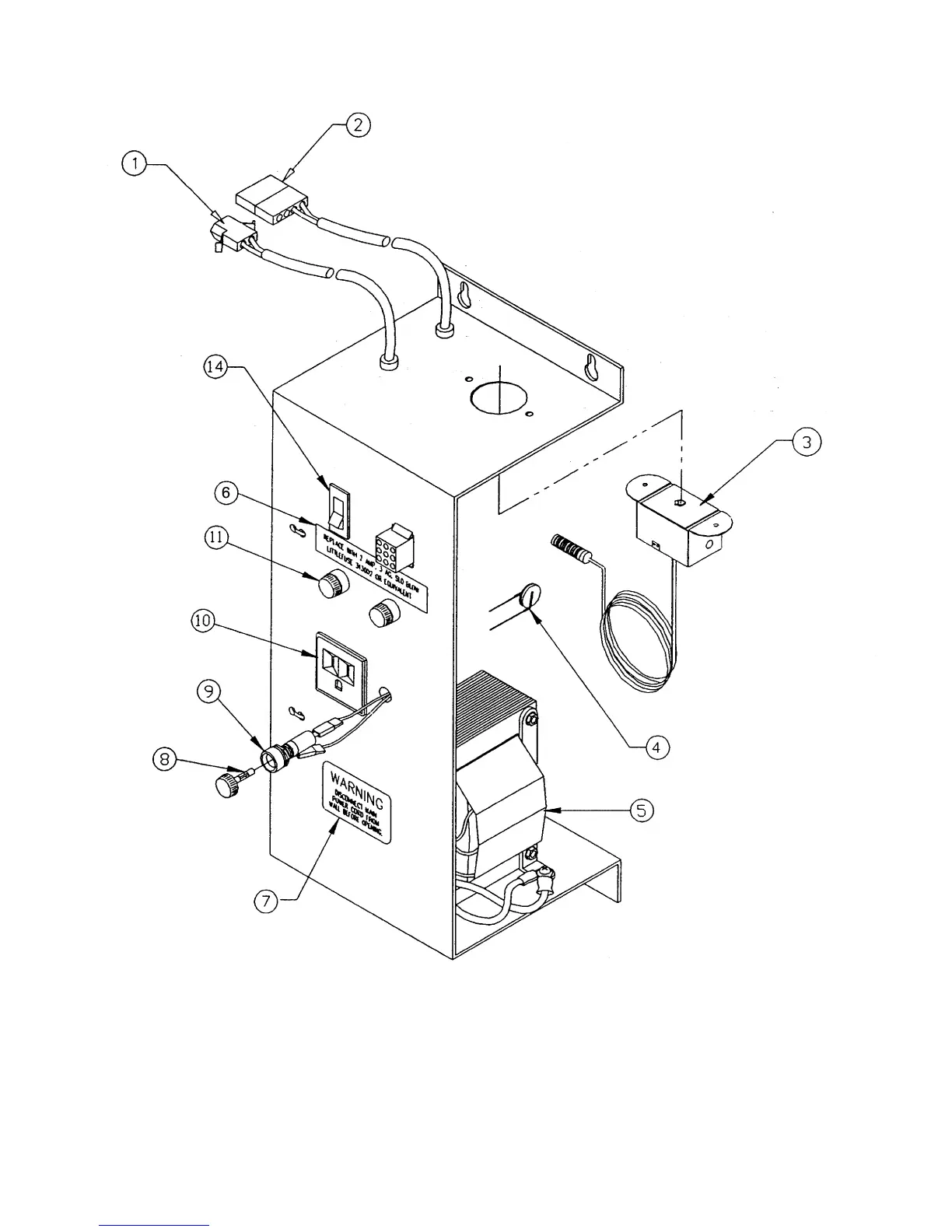
Dixie Narco 2054 - Figure 23 - Ac Distribution Box, 110 Vac

Default Icon
98 pages
Print Icon
To Next Page IconTo Next Page
To Next Page IconTo Next Page
To Previous Page IconTo Previous Page
To Previous Page IconTo Previous Page
Loading...
Page 91
FIGURE 23 – AC DISTRIBUTION BOX, 110 VAC

Table of Contents

Related product manuals