EasyManua.ls Logo

DNT Findoo MicroCam - Page 59

DNT Findoo MicroCam
Print Icon
To Next Page IconTo Next Page
To Next Page IconTo Next Page
To Previous Page IconTo Previous Page
To Previous Page IconTo Previous Page
Loading...
- 59 -
Nederlands
31
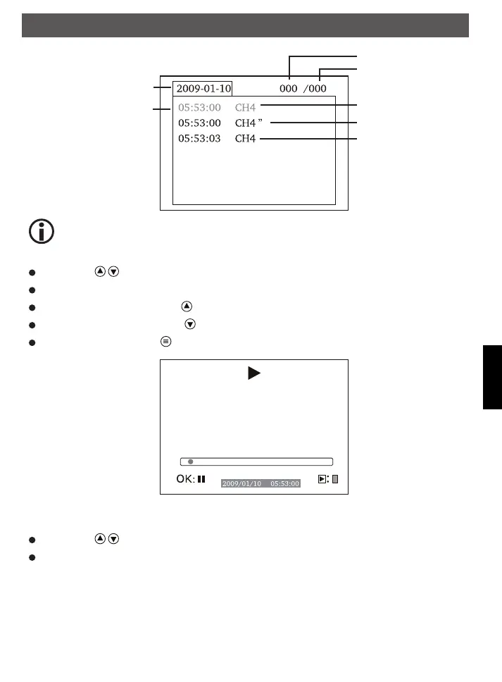
Ordnernaam
Opnametijd
Aantal ordners
Totaal aantal ordners
CH4 = 1. Video
CH4” = Foto
CH4 = 2.Video
“ achter CH4 geeft aan dat het om een foto gaat.
Voor videoweergave:
Kies met de toetsen een video en druk op de OK-toets.
Voor pauze drukt u op de OK-toets.
Voor snelle voorloop houdt u de toets ingedrukt.
Voor snelle terugloop houdt u de toets ingedrukt.
Om te verlaten drukt u op de toets
Voor beeldweergave:
Kies met de toetsen een beeld en druk op de OK-toets.
Om te verlaten drukt u opnieuw op de OK-toets.
Bedrijf
FindooMicroCamDEFN.indd 59 01.11.2010 14:03:48

Table of Contents