EasyManua.ls Logo

Doosan D100 - Axle for D150 & D160 S-5 Truck-Wheel End Torque Chart

Doosan D100
72 pages
Print Icon
To Next Page IconTo Next Page
To Next Page IconTo Next Page
To Previous Page IconTo Previous Page
To Previous Page IconTo Previous Page
Loading...
Power Train Specifications6
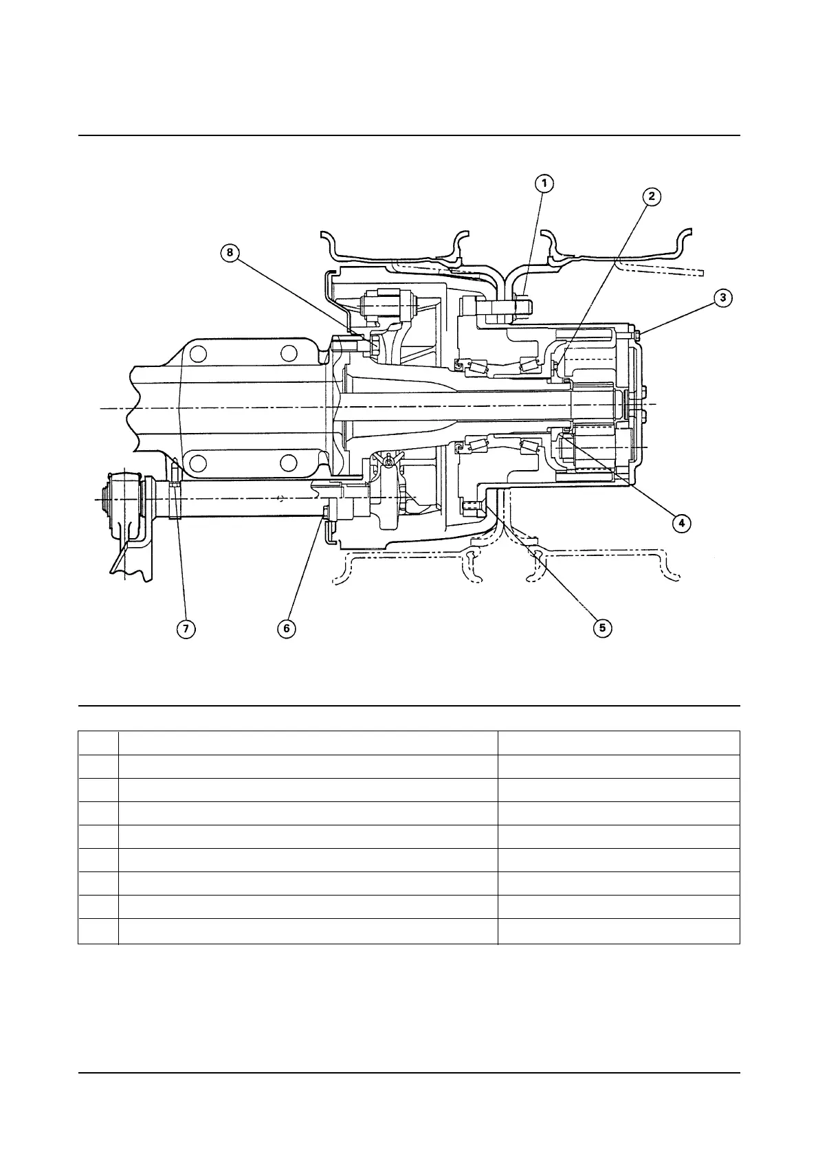
Axle for D150 & D160S-5 Truck-Wheel End Torgue Chart
Item Fastener Torque Value
1 Wheel rim nut 500 lb•ft (680 N•m)
2 Lock plate screw 20-30 lb•ft (27-41 N•m)
3Planetary spider cover 35-50 lb•ft (48-68 N•m)
4 Wheel bearing adjusting nut Refer to instrucitions on page 59
5 Planetary spider-to-wheel hub slotted head screw Hand tighten (no specification)
6 Camshaft bracket to spider 85-115 lb•ft (115-156 N•m)
7 Camshaft bracket clamp 35-50 lb•ft (47-68 N•m)
8 Spindle and brake spider mounting 375-430 lb•ft (508-583 N•m)

Other manuals for Doosan D100

Related product manuals