EasyManua.ls Logo

Doosan D20G - Lift Relay Group - Full Free Lift

Doosan D20G
74 pages
Print Icon
To Next Page IconTo Next Page
To Next Page IconTo Next Page
To Previous Page IconTo Previous Page
To Previous Page IconTo Previous Page
Loading...
Vehicle System Specification 11
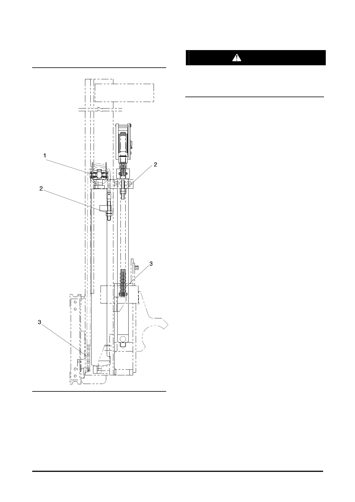
Lift Relay Group - Full Free Lift
WARNING
Do not put a lift truck into service if the chain
wear indication is 2% or more. A reading of 2%
or more could cause damage or injury to
persons.
(1) Tighten bolts until contact is made with guard.
(2) Put LOCTITE NO. 242 Thread Lock on the
threads of the relay group locknuts after
adjustment of the lift chains is completed.
(3) Maximum chain wear ....................Less than 2%
(See Chain Wear Test in TESTING &
ADJUSTING).
(4) Distance from bottom of inner mast to bottom of
lower bearing on carriage must be 41 ±1.5 mm
(1.61±0.6 in).
Bottom of inner mast must be even (flush) with
bottom of stationary mast. Adjust inner first.

Table of Contents

Other manuals for Doosan D20G

Related product manuals