EasyManua.ls Logo

Dorma TS93 GSR/EMF - Page 2

Dorma TS93 GSR/EMF
11 pages
Print Icon
To Next Page IconTo Next Page
To Next Page IconTo Next Page
To Previous Page IconTo Previous Page
To Previous Page IconTo Previous Page
Loading...
CAUTION: Sex nuts are required for attachment of components to unreinforced, wood or plastic faced com-
posite type fire doors, unless an alternative method is identified in the individual door manufacture’s listings.
Make sure door efficiently operates prior to installing the closer. When Installing main arm, observe direc-
tions closely. .
Prepare door and frame using the template (TMP No. 08281030) provided in the back of the instructions.
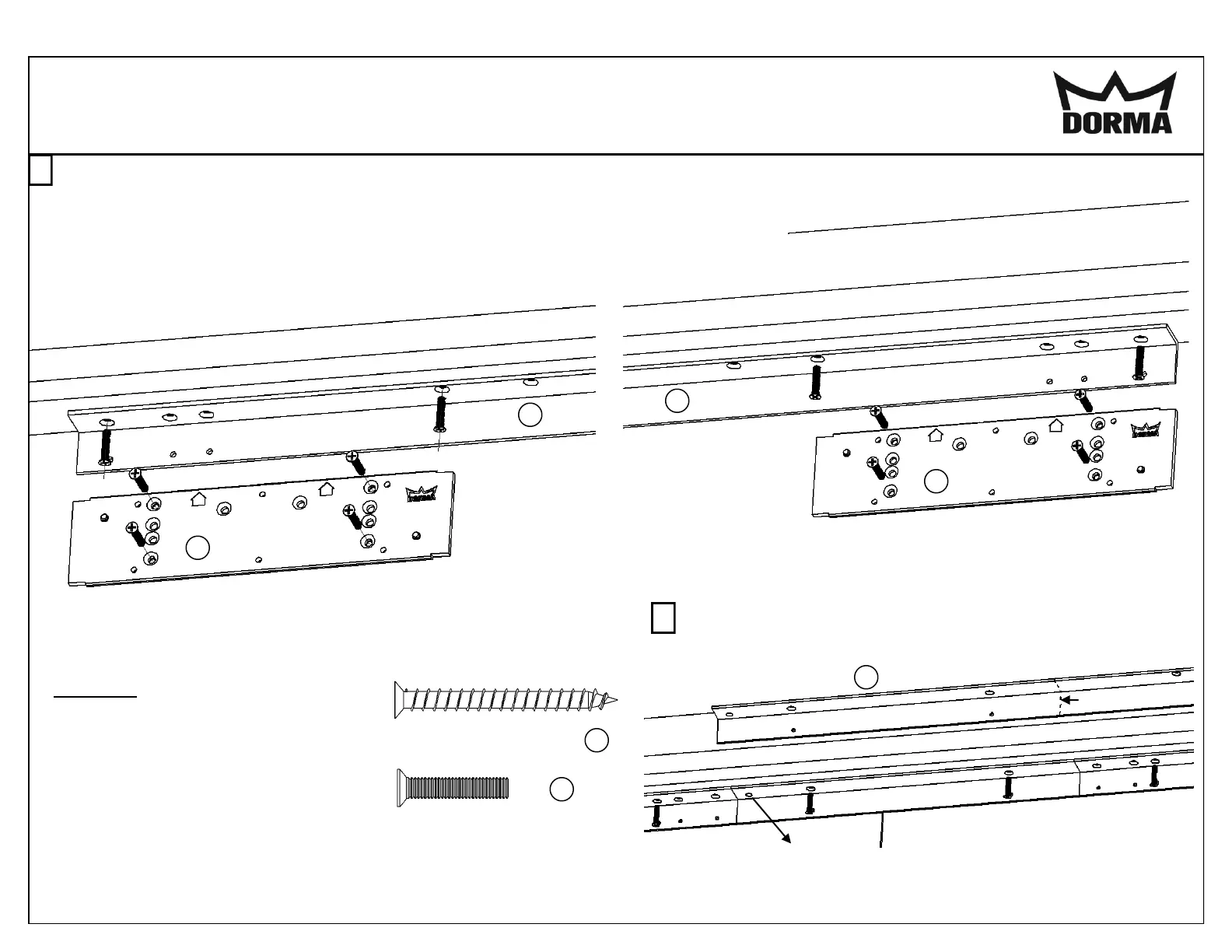
Attach both closer mounting plates to the doors using 8 flat head screws, 4 ea. Arrows on plate pointing upwards.
Attach left hand mounting angle to the frame with 3 flat head screws.
Attach right hand mounting angle to the frame with 3 flat head screws.
TS93 GSR EMF PT
Left Hand
Right Hand
#10-32 Metal Door Screw
Wood Door Screw
INS NO: 08281031 PAGE: 2 of 11 REV: 09/11
Parts List:
No. Description
1) Closer Mounting Plate
2) Track Mounting Angle
3) Middle Filler Angle (cut)
4) Wood Door Screws
5) #10-32 Metal Door Screws
Qty
2
2
1
16
16
1
2
1
Cut middle filler angle as shown below
Attach Middle Filler Angle with 2 flat head screws.
2
2
4
5
3
1
Cut
When cutting filler angle be sure to plan for the
conduit hole 5/16 DIA [8mm].

Related product manuals