Home
Dražice
Water Heater
OKCEV 100
Page 12
Dražice OKCEV 100 - Page 12
21 pages
Manual
Save Page as PDF
To Next Page
To Next Page
To Previous Page
To Previous Page
Loading...
-
12
-
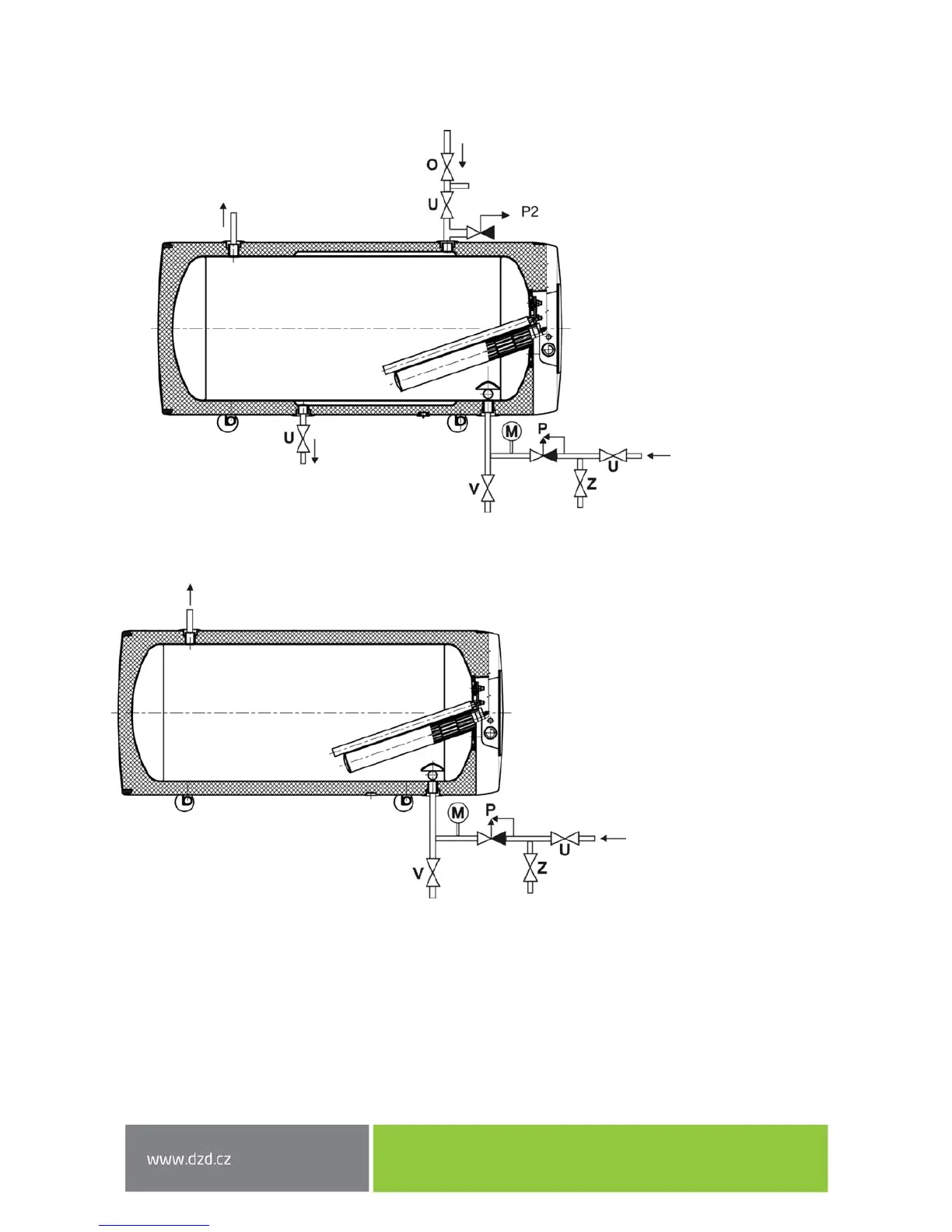
Heaters m
ust be provi
ded with a discharge v
alve
mo
unted
on
the
cold
service
water
inlet
to
the
heater
for potential disassembly or repair.
OKCV 12
5, O
KCV
160,
OKCV 2
00
Figur
e
6
OKCE
V 100, O
KCEV 125,
OKCEV 16
0, OKCE
V 200
Figur
e
7
U
–
closing val
ve
P
–
safety valve wi
th backflow flap
M –
Mano
meter
Z
–
test
valv
e
V
–
dra
in valve
O
–
deaerating
valve
U
–
closing val
ve
P1
–
safety valve with backflow flap
P2
–
safety valve for heating circuit
M –
Mano
meter
Z
–
test
valv
e
V
–
drain valve
11
13
Table of Contents
Main Page
Default Chapter
1
Installation Manual
1
Table of Contents
2
1 Product Technical Specification
4
Function Description
4
Operating Activity
4
Advice for Customers
5
Hot Water Consumption
5
Energy Saving
5
Emergency Power Consumption
5
Design and General Heater Dimensions
6
2 Operation and Fitting Instructions
10
Operating Conditions
10
Wall Mounting
10
Plumbing Fixture
11
Electrical Installation
13
General Information for Electrical Installation
13
Connection of Indirect Heater to Hot Water System
13
First Commissioning
15
Putting out of Service, Discharge
15
Inspection, Maintenance & Care for the Appliance
16
Most Frequent Function Failures and Their Causes
17
3 Operation of Thermostat
18
Servicing
18
Operating Devices of the Heater
18
Temperature Setting
19
4 Important Notices
20
Installation Regulations
20
Accessories and Spare Parts
20
Transport & Storage Instructions
21
Disposal of Packaging Material and Non-Functioning Product
21
Other manuals for Dražice OKCEV 100
Operation And Installation Manual
13 pages
Related product manuals
Dražice OKCE 100
19 pages
Dražice OKC 100 NTR
33 pages
Dražice OKCE 50
19 pages
Dražice OKCE 80
19 pages
Dražice OKCE 160 NTR
26 pages
Dražice OKCE 200 NTR
26 pages
Dražice OKCV 125
21 pages
Dražice OKC 200 NTR
33 pages
Dražice OKC 125 NTR
33 pages
Dražice OKC 250 NTR
33 pages
Dražice OKC 80 NTR/Z
33 pages
Dražice OKC 200 NTR/Z
33 pages