EasyManua.ls Logo

Ducati Monster620 - Linker Umschalter

Ducati Monster620
Print Icon
To Next Page IconTo Next Page
To Next Page IconTo Next Page
To Previous Page IconTo Previous Page
To Previous Page IconTo Previous Page
Loading...
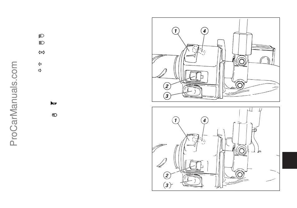
Linker Umschalter (Abb. 11.1 - 11.2)
1) Wechselschalter, Wahl der Beleuchtungsart,
2 Positionen:
Position = Abblendlicht eingeschaltet;
Position = Fernlicht eingeschaltet.
2) Taste = Blinkerschalter mit drei Positionen:
mittlere Position = ausgeschaltet;
Position = Abbiegen nach links;
Position = Abbiegen nach rechts.
Um die jeweilige Blinklichtfunktion ausschalten zu
können, muss der kleine Hebel an der Blinkersteuerung,
nachdem er wieder in die Mitte zurückgesprungen ist,
niedergedrückt werden.
3) Drucktaste = Hupe
4) Drucktaste = Lichthupe
19
D
Abb. 11.1
620/800
Abb. 11.2
1000
ProCarManuals.com

Table of Contents

Related product manuals