EasyManua.ls Logo

dymax Bluewave MX-MIM - Input Power; Interlocks

Default Icon
48 pages
Print Icon
To Next Page IconTo Next Page
To Next Page IconTo Next Page
To Previous Page IconTo Previous Page
To Previous Page IconTo Previous Page
Loading...
BlueWave® MX-MIM User Guide
7
Input Power
A 24-volt DC (10A maximum) power supply is connected to the BlueWave® MX-MIM
through the supplied 4-position power plug. The power inputs are reverse-polarity
protected. Two connections each are provided for the +24V and 24V return to allow for
daisy chaining of power input.
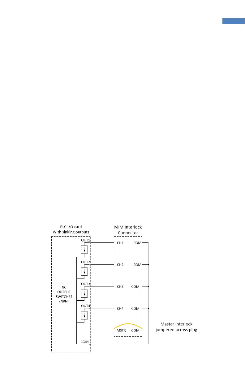
Interlocks
The interlock inputs provide a means to interrupt power to an emitter when an interlock
connection is opened. One interlock per emitter is provided. In addition, a master
interlock is provided which will interrupt power to all four emitters when its connection
is opened regardless of the individual emitter interlocks. Upon loss of an interlock
connection, emitter operation will cease, and an alarm will be set. This is a safety
feature that interrupts power to the emitter and does not rely on firmware controls.
Upon restoring the interlock connection, power will be applied to the emitter and it will
be re-initialized but will not activate the UV light until commanded to do so by the user.
Interlock connections are made through the supplied 2 x 5 locking interlock plug, PN
43536. The plug is shipped with jumpers in place to enable operation. A normally closed
switch or a “sinking output, NPN device” may be connected to the desired interlock in
place of the jumpers as illustrated in Figure 3, Figure 4, and Figure 5.
Figure 3. Controlling 4-Emitter Channels with Individual Interlocks

Related product manuals