EasyManua.ls Logo

Dyna-Glo BF20DTL-4 - Page 48

Dyna-Glo BF20DTL-4
60 pages
Print Icon
To Next Page IconTo Next Page
To Next Page IconTo Next Page
To Previous Page IconTo Previous Page
To Previous Page IconTo Previous Page
Loading...
47
INSTALACIÓN
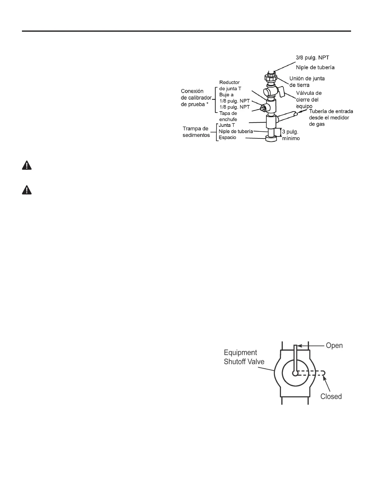
Instale una trampa de sedimentos en la línea de
suministro como se muestra (Ver Fig. 20). Coloque
la trampa de sedimentos donde resulte fácil de
acceder para su limpieza. Coloque la trampa de
sedimentos donde no exista la probabilidad de que
el material atrapado se congele. Una trampa de
sedimentos atrapa la humedad y contaminantes.
Esto evita que se vayan a los controles del cale-
factor. Si la trampa de sedimentos no está instala-
da o está instalada incorrectamente, el calefactor
puede no funcionar apropiadamente.
Fig. 20 - Conexión del gas
Fig. 21 - Válvula de cierre del equipo
REVISIÓN DE LAS CONEXIONES DE GAS
ADVERTENCIA: Pruebe toda la tubería y conexiones de gas en contra de fugas después
de la instalación y el servicio. Corrija todas las fugas de inmediato.
ADVERTENCIA: Nunca use una llama abierta para revisar en busca de fugas. Aplique una
mezcla 50/50 de jabón líquido y agua en todas las juntas. Si se forman burbujas, puede haber
una fuga. Corrija todas las fugas de inmediato.
Prueba de presión del sistema de tuberías del suministro de gas Presiones de prueba
mayores de 1/2 PSIG ( 3.5kPa )
El aparato y su válvula de gas principal deben estar desconectados del sistema de tubería de
suministro de gas durante cualquier prueba de presión de ese sistema a presiones de prueba
mayores de ½ psi (3.5 kPa).
Presión de prueba del suministro de gas igual o mayor que
1/2 PSIG ( 3.5kPa )
El aparato debe aislarse del sistema de tubería de suministro de gas cerrando su válvula de cierre
del equipo durante cualquier prueba de presión del sistema de tubería de suministro de gas a
presiones de prueba iguales o mayores que ½ psi (3.5 kPa).
Prueba de fugas de las conexiones internas de
gas del calefactor
1. Abra la válvula de cierre del equípo (Ver Fig. 21).
2. Asegúrese de que la perilla de control del calefactor
esté en la posición OFF.
3. Abra la válvula del tanque de suministro de gas
(Sistemas de PL).
4. Revise todas las juntas de la válvula de cierre del equipo
a la válvula de control. Aplique una mezcla 50/50 de
jabón líquido y agua en las juntas de gas. Si se forman
burbujas, puede haber una fuga.
5. Encienda el calefactor (ver Operación, página 18).
Revise todas las otras juntas internas en busca de fugas.
6. Apague el calefactor (ver "Apagar el gas al aparato", página 19).

Related product manuals