EasyManua.ls Logo

Eagle T100 - Side Conveyor System

Eagle T100
28 pages
Print Icon
To Next Page IconTo Next Page
To Next Page IconTo Next Page
To Previous Page IconTo Previous Page
To Previous Page IconTo Previous Page
Loading...
- 16 -
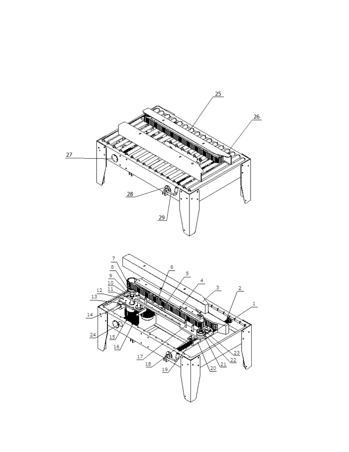
6. Illustrations & Parts List
6.5 Side Conveyor System