EasyManua.ls Logo

Eberg COOLY C35HD - Window Slider Kit and Location

Eberg COOLY C35HD
Print Icon
To Next Page IconTo Next Page
To Next Page IconTo Next Page
To Previous Page IconTo Previous Page
To Previous Page IconTo Previous Page
Loading...
COOLY C35HD BLACKEN
29
www.eberg.eu
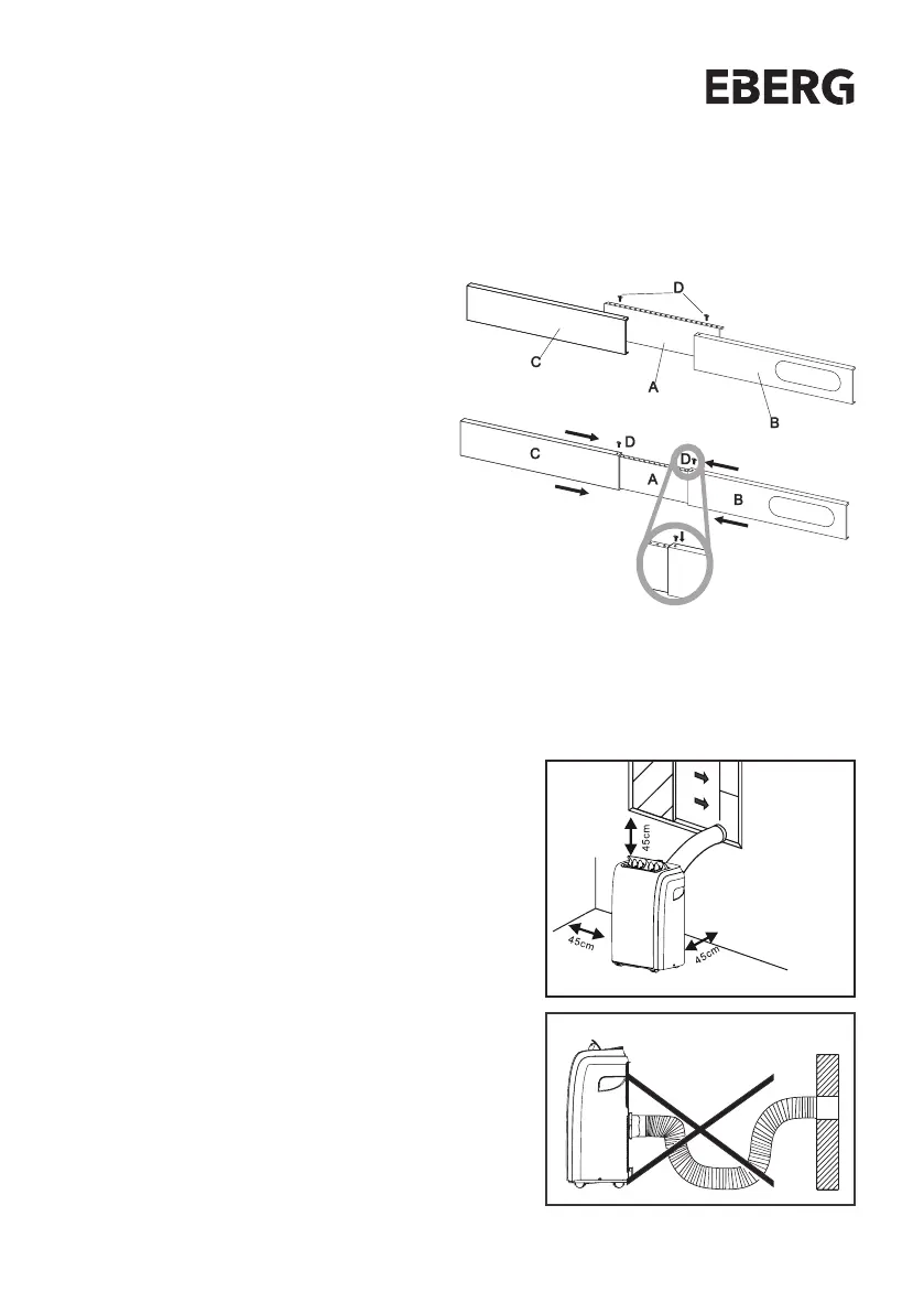
WINDOW SLIDER KIT INSTALLATION
2: Assembly:
Slide Panel B and C into Panel A and size to
widow width. Windows sizes vary. When sizing
the window width, be sure that the window kit
assembly is free from gaps from gaps and/or air
pockets when taking measurements.
3: Lock the screw into the holes that correspond
With the width that your window requires to
ensure that there are no gaps or air pockets in
the window kit assembly after installation.
1:Parts:
A) Panel (The second panel maybe not supplied)
B) Panel with one hole
C) Panel without hole (maybe not supplied)
D) Screw to lock window kit in place
LOCATION
The unit should be placed on a rm foundation to
minimize noise and vibration. For safe and secure
positioning. place the unit on a smooth, level oor
strong enough to support the unit.
The unit has casters to aid placement, but it should
only be rolled on smooth, at surfaces. Use caution
when rolling on carpeted surfaces. Use caution and
Protect oors when rolling over wood oors. Do not
attempt to roll the unit over objects.
The unit must be placed within reach of a properly
rated grounded socket.
Never place any obstacles around the air inlet or outlet
of the unit.
Allow at least 45cm of around and above space away
from the wall for ecient working.
The hose can be extended, but it is the best to keep the
length to minimum required. Also make sure that the
hose does not have any sharp bends or sags.

Related product manuals