EasyManua.ls Logo

Ecoer EAHAEC-60 - Page 20

Default Icon
157 pages
Print Icon
To Next Page IconTo Next Page
To Next Page IconTo Next Page
To Previous Page IconTo Previous Page
To Previous Page IconTo Previous Page
Loading...
20/157
SDi Decades Extreme Service Manual www.ecoer.com
May. 2023Manufacturer reserves the right to change specifications or designs without notice.
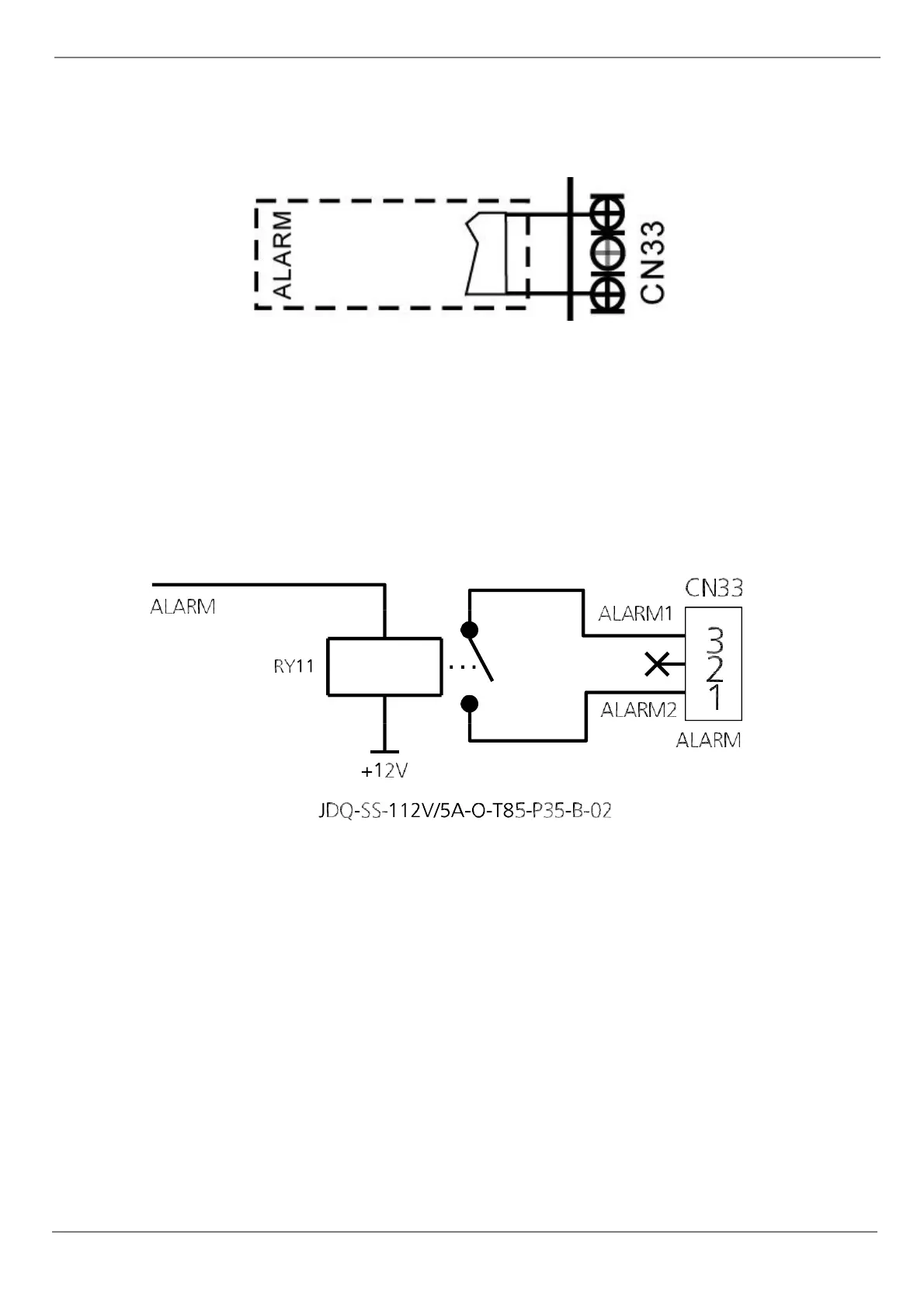
3.10.1 Micro-Switch Introduce:
A ALARM terminal port CN33:
1.Provide the terminal port to connect ALARM, but no voltage of the terminal port , the power
from the ALARM system (not from the unit ).
2.Although design voltage can support higher voltage, but we strongly ask you connect the
power less than 24V, current less than 0.5A.
3. When the unit occurs the problem , the relay would be closed , then ALARM works.
3.10 Electrical Wiring Diagrams

Related product manuals