EasyManua.ls Logo

Edwards GXS 250

Edwards GXS 250
180 pages
To Next Page IconTo Next Page
To Next Page IconTo Next Page
To Previous Page IconTo Previous Page
To Previous Page IconTo Previous Page
Loading...
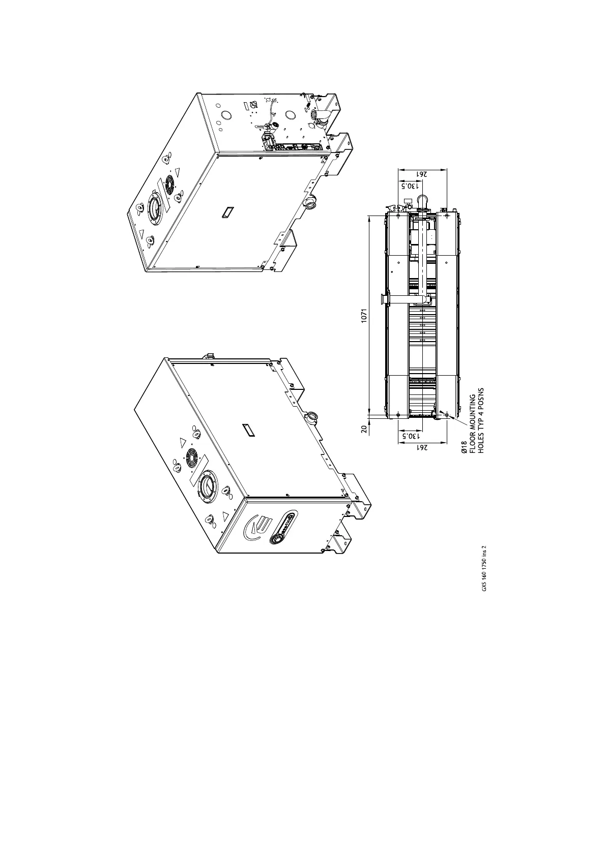
Figure 21 GXS160/1750 installaon drawing (Sheet 2)
CS/5340/A
Page 85
M58800880_H - Installaon drawings

Table of Contents

Related product manuals