EasyManua.ls Logo

EHC Comet - Installation: Plumbing; Balanced Cold Connection

EHC Comet
36 pages
Print Icon
To Next Page IconTo Next Page
To Next Page IconTo Next Page
To Previous Page IconTo Previous Page
To Previous Page IconTo Previous Page
Loading...
12
7. Installation: Plumbing
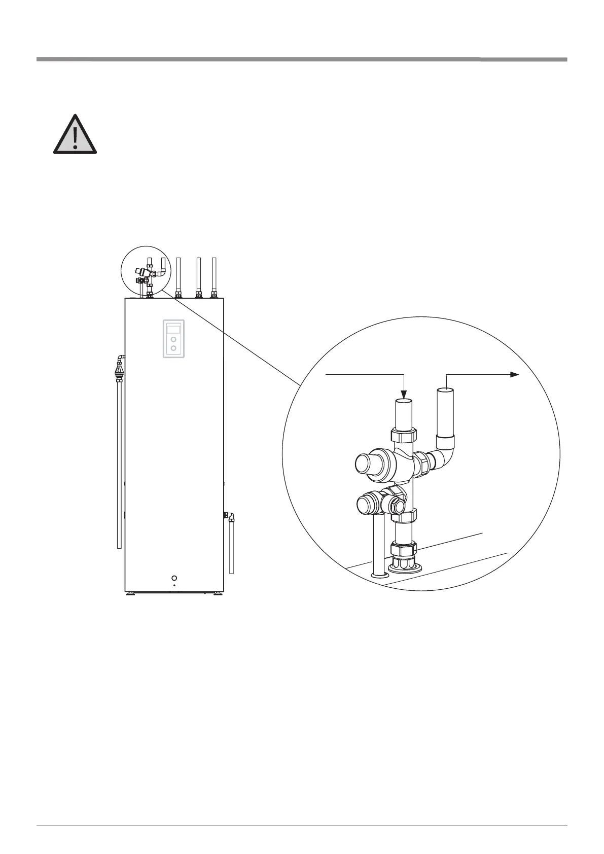
Balanced cold connection
Do not use monobloc mixer taps or showers if the balanced cold connection is not used. Outlets of this
type can back-pressurise the unit and result in discharge.
A 22mm balanced cold mains outlet can be found on the control set supplied, (see diagram below)
Use the balanced cold mains outlet from the inlet control set (as shown in the illustration) to feed all mixer taps /
showers, instead of connecting them direct to the cold main supply. If this is not possible then a pressure reducing
valve can be installed immediately after the incoming cold mains stopcock (typically under the kitchen sink).
All outlets in the house will be set to 3 bar and thus automatically balancing the system. The expansion relief valve
section must still be mounted just above the boiler (see diagram below).
Hot Water Pipework
Ensure the rst part of the hot water pipework is run in 22mm pipe. This can be reduced to 15mm depending on the
type of taps outlets used etc. Your aim should be to reduce the volume of the hot draw off pipework to a practical
minimum so that the time taken for the hot water is as quick as possible to the point of use.
Hard Water Areas
If the unit is installed in a hard water area that exceeds 200mg/L a water softener must be used. This device will
be connected to the mains water supply within the property and must be of the type that can be connected to
unvented hot water systems.
Cold Mains
Inlet
Balanced
Mains Outlet

Related product manuals