EasyManua.ls Logo

Electra DELTA 18ST - Page 39

Electra DELTA 18ST
110 pages
Print Icon
To Next Page IconTo Next Page
To Next Page IconTo Next Page
To Previous Page IconTo Previous Page
To Previous Page IconTo Previous Page
Loading...
10-2
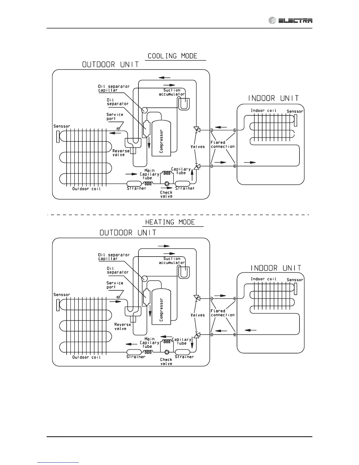
REFRIGERATION DIAGRAMS
Service Manual - ALPHA
10.1.2 DELTA 24 / OU7-24 R410A

Related product manuals