EasyManua.ls Logo

Electrolux E32AR75FPS - Section 9 Wiring Schematics; Ice Maker Schematic

Electrolux E32AR75FPS
112 pages
Print Icon
To Next Page IconTo Next Page
To Next Page IconTo Next Page
To Previous Page IconTo Previous Page
To Previous Page IconTo Previous Page
Loading...
9-1
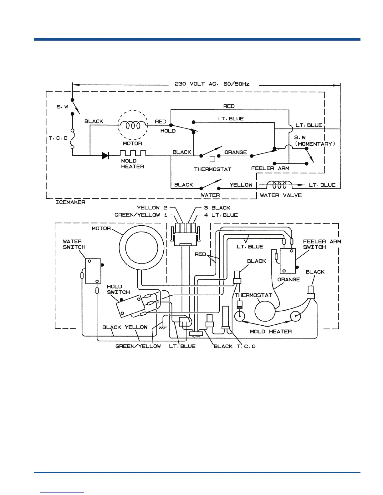
Wiring Schematics
Ice Maker Schematic

Table of Contents

Related product manuals